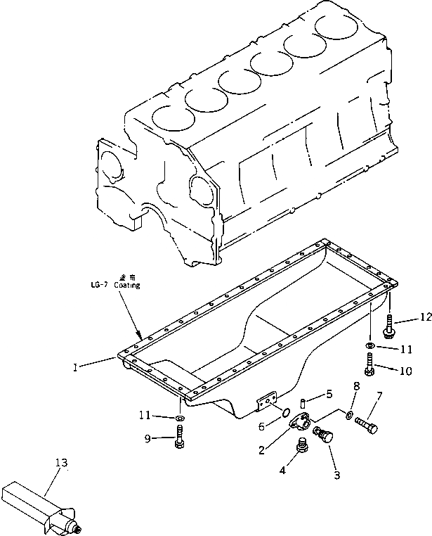
Запчасти Komatsu S6D140-1Q МАСЛЯНЫЙ ПОДДОН(№9-) БЛОК ЦИЛИНДРОВ

Схема запчастей Komatsu S6D140-1Q - МАСЛЯНЫЙ ПОДДОН(№9-) БЛОК ЦИЛИНДРОВ
FIT
1:1
100%

Артикул

Название

Примечание

Количество

1

6211-21-5220

PAN,OIL

SN: 13955-14340

1шт.

|2

6693-22-5600

VALVE ASS'Y

SN: 13955-@

1шт.

2

0

BODY

SN: 13955-@

1шт.

3

0

VALVE

SN: 13955-@

1шт.

4

07040-02412

PLUG

SN: 13955-@

1шт.

5

04020-00514

PIN,DOWEL

SN: 13955-@

1шт.

6

07000-63028

O-RING (K2)

SN: 13955-@

1шт.

7

01010-51025

BOLT

SN: 13955-@

2шт.

8

01640-21016

WASHER

SN: 13955-@

2шт.

9

01010-51025

BOLT

SN: 13955-14340

6шт.

10

01010-51030

BOLT

SN: 13955-14340

26шт.

11

01640-21016

WASHER

SN: 13955-14340

32шт.

12

6150-81-9120

BOLT

SN: 13955-14340

6шт.

13

09920-00150

LIQUID GASKET,LG-7¤ 150G

SN: 13955-14340

-2шт.

Выбрано товаров: 14