Запчасти Komatsu S6D140-1Q ГОЛОВКА ЦИЛИНДРОВ(№7-) ГОЛОВКА ЦИЛИНДРОВ

Схема запчастей Komatsu S6D140-1Q - ГОЛОВКА ЦИЛИНДРОВ(№7-) ГОЛОВКА ЦИЛИНДРОВ
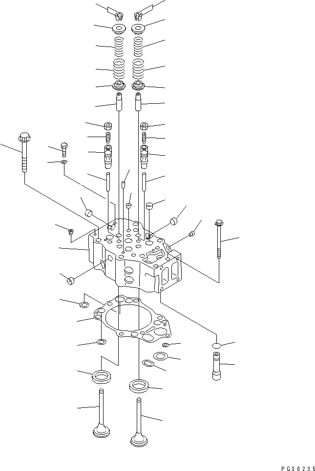
1
2
2
3
3
4
5
6
6
6
6
7
8
9
10
11
12
13
14
14
15
15
16
16
17
17
18
18
19
19
20
20
21
21
22
23
24
25
26
27
28
29
30
25
26
27
28
29
30
31
32
FIT
1:1
100%

Артикул

Название

Примечание

Количество

|1

6211-11-1101

CYLINDER HEAD ASS'Y,VALVE LESS

SN: 17001-UP

6шт.

1

0

HEAD,CYLINDER

SN: 17001-UP

1шт.

2

6210-16-1340

GUIDE,VALVE

SN: 13955-UP

4шт.

3

6210-11-1140

GUIDE,CROSSHEAD

SN: 13955-UP

2шт.

4

04020-00820

PIN,DOWEL

SN: 13955-UP

2шт.

5

07046-41810

PLUG

SN: 13955-UP

1шт.

6

6162-13-1150

PLUG,EXPANSION

SN: 13955-UP

12шт.

7

6210-11-1330

INSERT,INTAKE VALVE (STD)

SN: 13955-UP

2шт.

|7

6210-19-1330

INSERT¤ 0.25MM,INTAKE VALVE (OS)

SN: 13955-UP

2шт.

|7

6210-18-1330

INSERT¤ 0.50MM,INTAKE VALVE (OS)

SN: 13955-UP

2шт.

|7

6210-17-1330

INSERT¤ 0.75MM,INTAKE VALVE (OS)

SN: 13955-UP

2шт.

|7

6210-16-1330

INSERT¤ 1.00MM,INTAKE VALVE (OS)

SN: 13955-UP

2шт.

8

6210-11-1321

INSERT,EXHAUST VALVE (STD)

SN: 13955-UP

2шт.

|8

6210-19-1321

INSERT¤ 0.25MM,EXHAUST VALVE (OS)

SN: 13955-UP

2шт.

|8

6210-18-1321

INSERT¤ 0.50MM,EXHAUST VALVE (OS)

SN: 13955-UP

2шт.

|8

6210-17-1321

INSERT¤ 0.75MM,EXHAUST VALVE (OS)

SN: 13955-UP

2шт.

|8

6210-16-1321

INSERT¤ 1.00MM,EXHAUST VALVE (OS)

SN: 13955-UP

2шт.

9

6210-11-1150

PIPE

SN: 13955-UP

1шт.

10

07000-63025

O-RING (K1)

SN: 13955-UP

1шт.

11

07043-50108

PLUG

SN: 13955-UP

1шт.

12

6215-41-4110

VALVE,INTAKE

SN: 13955-UP

12шт.

13

6215-41-4212

VALVE,EXHAUST

SN: 17002-UP

12шт.

|13

0

VALVE,EXHAUST

SN: 13955-17001

12шт.

14

6210-41-4440

SPRING,INNER

SN: 14226-UP

24шт.

15

6210-41-4430

SPRING,OUTER

SN: 14226-UP

24шт.

16

6210-41-4530

SEAT,LOWER

SN: 13955-UP

24шт.

17

6210-41-4510

SEAT,UPPER

SN: 13955-UP

24шт.

18

6136-41-4520

COTTER

SN: 13955-UP

48шт.

19

6210-41-5620

CROSSHEAD

SN: 13955-UP

12шт.

20

6210-41-5640

SCREW

SN: 13955-UP

12шт.

21

6127-41-5630

NUT

SN: 13955-UP

12шт.

22

02720-40104

PLUG

SN: 17001-UP

6шт.

23

01010-51016

BOLT

SN: 17001-UP

6шт.

24

07003-01015

GASKET

SN: 17001-UP

6шт.

|$$35

STANDARD

-1шт.

25

6210-17-1813

GASKET,HEAD (K1)

SN: 16567-UP

6шт.

26

6210-11-1820

GROMMET,OIL

SN: 13955-UP

1шт.

27

6210-11-1830

GROMMET,OIL

SN: 13955-UP

1шт.

28

6210-11-1840

GROMMET,OIL

SN: 13955-UP

1шт.

29

6210-11-1962

GROMMET,WATER

SN: 16567-UP

1шт.

30

6210-11-1952

GROMMET,WATER

SN: 16567-UP

4шт.

|$$42

OVERSIZE 0.40MM

-1шт.

25

6210-19-1813

GASKET,HEAD

SN: 13955-UP

6шт.

26

6210-19-1820

GROMMET,OIL

SN: 13955-UP

1шт.

27

6210-19-1830

GROMMET,OIL

SN: 13955-UP

1шт.

28

6210-19-1840

GROMMET,OIL

SN: 13955-UP

1шт.

29

6210-19-1962

GROMMET,WATER

SN: 13955-UP

1шт.

30

6210-19-1952

GROMMET,WATER

SN: 13955-UP

4шт.

31

6210-11-1610

BOLT

SN: 13955-UP

36шт.

32

6150-81-9160

BOLT

SN: 13955-UP

6шт.

Выбрано товаров: 50