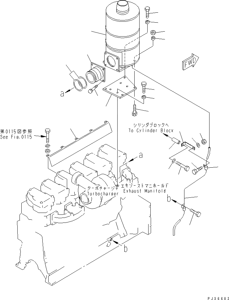
Запчасти Komatsu S6D140-1U ГЛУШИТЕЛЬ И КРЕПЛЕНИЕ ГОЛОВКА ЦИЛИНДРОВ

Схема запчастей Komatsu S6D140-1U - ГЛУШИТЕЛЬ И КРЕПЛЕНИЕ ГОЛОВКА ЦИЛИНДРОВ
1
2
3
4
5
5
6
7
8
9
10
11
12
13
14
15
16
17
18
19
20
21
22
FIT
1:1
100%

Артикул

Название

Примечание

Количество

1

6211-11-5530

MUFFLER

SN: 10001-UP

1шт.

2

6211-11-5840

PLATE

SN: 10001-UP

1шт.

3

01010-61045

BOLT

SN: 10001-UP

4шт.

4

6631-11-5630

SPACER

SN: 10001-UP

4шт.

5

6631-11-5630

SPACER

SN: 10001-UP

4шт.

6

01010-31045

BOLT

SN: 10001-UP

2шт.

7

01580-01008

NUT

SN: 10001-UP

2шт.

8

01010-31060

BOLT

SN: 10001-UP

2шт.

9

6211-11-5450

CONNECTOR

SN: 10001-UP

1шт.

10

6211-11-5250

RING,SEAL

SN: 10001-UP

2шт.

11

01010-31225

BOLT

SN: 10001-UP

4шт.

12

6211-11-9120

PLATE

SN: 10001-UP

1шт.

13

6211-11-5740

TUBE,DRAIN

SN: 10001-UP

1шт.

14

6991-11-5990

CLAMP

SN: 10001-UP

1шт.

15

01010-51020

BOLT

SN: 10001-UP

1шт.

16

01580-01008

NUT

SN: 10001-UP

1шт.

17

01640-21016

WASHER

SN: 10001-UP

1шт.

18

6136-65-8541

STAY

SN: 10001-UP

1шт.

19

6136-11-5120

SPACER

SN: 10001-UP

1шт.

20

01010-51095

BOLT

SN: 10001-UP

1шт.

21

01640-21016

WASHER

SN: 10001-UP

1шт.

22

01010-31016

BOLT

SN: 10001-UP

1шт.

Выбрано товаров: 0