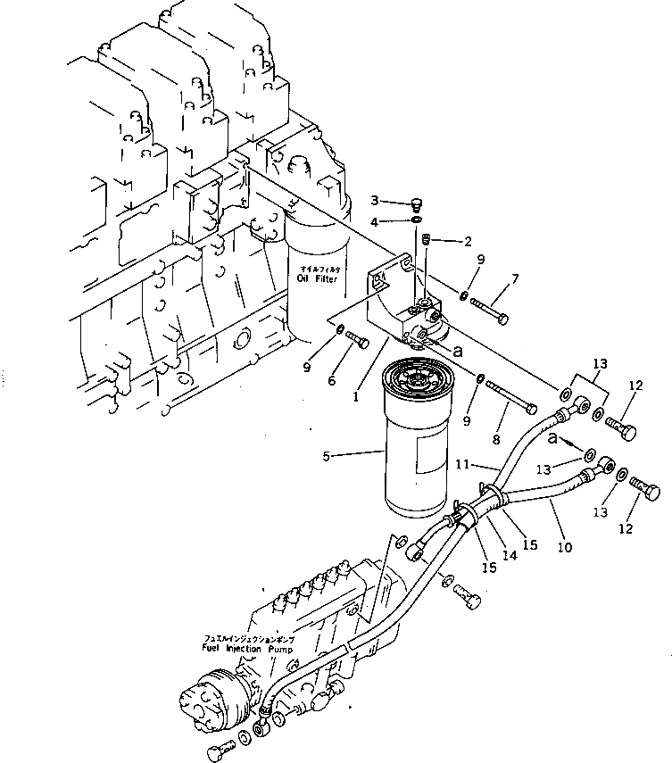
Запчасти Komatsu S6D140-1X ТОПЛИВН. ФИЛЬТР. И ТРУБЫ ТОПЛИВН. СИСТЕМА

Схема запчастей Komatsu S6D140-1X - ТОПЛИВН. ФИЛЬТР. И ТРУБЫ ТОПЛИВН. СИСТЕМА
FIT
1:1
100%

Артикул

Название

Примечание

Количество

|1

6210-71-6201

FUEL FILTER ASS'Y

SN: 18682-UP

1шт.

1

6210-71-6210

HEAD

SN: 18682-UP

1шт.

2

07043-70108

PLUG

SN: 18682-UP

1шт.

3

6110-73-6231

PLUG

SN: 18682-UP

1шт.

4

07005-00812

GASKET

SN: 18682-UP

1шт.

5

600-311-7131

CARTRIDGE

SN: 18682-UP

1шт.

6

01010-51035

BOLT

SN: 18682-UP

1шт.

7

01010-51075

BOLT

SN: 18682-UP

1шт.

8

01011-51010

BOLT

SN: 18682-UP

2шт.

9

01640-21016

WASHER

SN: 18682-UP

4шт.

10

07271-11470

HOSE

SN: 18682-UP

1шт.

11

6212-71-5380

HOSE

SN: 18682-UP

1шт.

12

07206-31014

BOLT,JOINT

SN: 18682-UP

2шт.

13

07005-01412

GASKET (K2)

SN: 18682-UP

4шт.

14

205-62-72140

COVER,HOSE

SN: 18682-UP

1шт.

15

08034-00823

BAND

SN: 18682-UP

2шт.

Выбрано товаров: 0