Запчасти Komatsu S6D140E-2D-6 МАСЛЯНЫЙ ПОДДОН И ВСАСЫВАЮЩИЙ ПАТРУБОК(№778-) ДВИГАТЕЛЬ

Схема запчастей Komatsu S6D140E-2D-6 - МАСЛЯНЫЙ ПОДДОН И ВСАСЫВАЮЩИЙ ПАТРУБОК(№778-) ДВИГАТЕЛЬ
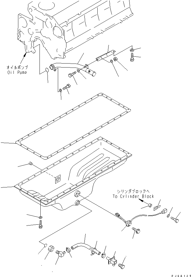
1
2
3
4
5
6
7
7
8
9
10
11
12
13
14
15
16
17
18
19
20
21
22
22
23
24
25
26
27
28
29
FIT
1:1
100%

Артикул

Название

Примечание

Количество

1

6211-21-5240

PAN,OIL

SN: 27478-UP

1шт.

2

6210-21-5820

GASKET (K2)

SN: 27478-UP

1шт.

3

01640-21016

WASHER

SN: 27478-UP

38шт.

4

01010-81025

BOLT

SN: 27478-UP

38шт.

|5

6210-52-6200

HOSE ASS'Y

SN: 27478-UP

1шт.

5

421-01-11263

TUBE

SN: 27478-UP

1шт.

6

424-01-11110

PLUG

SN: 27478-UP

1шт.

7

07281-00359

CLAMP

SN: 27478-UP

2шт.

8

421-01-11180

ELBOW

SN: 27478-UP

1шт.

9

01583-13621

NUT

SN: 27478-UP

1шт.

10

07260-22050

HOSE

SN: 27478-UP

1шт.

11

07002-23634

O-RING (K2)

SN: 27478-UP

1шт.

12

08034-00519

BAND,(FOR SHIPPING)

SN: 27478-UP

1шт.

13

6210-51-6311

PIPE,OIL SUCTION

SN: 27478-UP

1шт.

14

07000-73040

O-RING (K2)

SN: 27479-UP

1шт.

|14

0

O-RING (K2)

SN: 27478-27478

1шт.

15

01010-81025

BOLT

SN: 27478-UP

1шт.

16

01643-31032

WASHER

SN: 27478-UP

1шт.

17

6210-51-6322

BRACKET

SN: 27478-UP

1шт.

18

01010-81025

BOLT

SN: 27478-UP

1шт.

19

6131-12-5920

SPACER

SN: 27478-UP

1шт.

20

01010-81030

BOLT

SN: 27478-UP

1шт.

21

01580-01008

NUT

SN: 27478-UP

1шт.

22

01643-31032

WASHER

SN: 27478-UP

2шт.

23

6741-81-9210

SENSOR,OIL LEVEL

SN: 29713-UP

1шт.

|23

0

SENSOR,OIL LEVEL

SN: 27478-29712

1шт.

|23

7861-91-4220

O-RING

SN: 27478-UP

1шт.

24

01435-00612

BOLT

SN: 28036-UP

3шт.

|24

0

BOLT

SN: 27478-28035

3шт.

25

01640-21016

WASHER

SN: 27478-UP

1шт.

26

08053-01510

CLIP

SN: 27478-UP

1шт.

27

01010-81030

BOLT

SN: 27478-UP

1шт.

28

6131-12-5920

SPACER

SN: 27478-UP

1шт.

29

02720-41616

PLUG

SN: 27478-UP

1шт.

Выбрано товаров: 34