Запчасти Komatsu S6D155-4A ВОДЯНОЙ КОЛЛЕКТОР И ТЕРМОСТАТ(№-9) ГОЛОВКА ЦИЛИНДРОВ

Схема запчастей Komatsu S6D155-4A - ВОДЯНОЙ КОЛЛЕКТОР И ТЕРМОСТАТ(№-9) ГОЛОВКА ЦИЛИНДРОВ
FIT
1:1
100%

Артикул

Название

Примечание

Количество

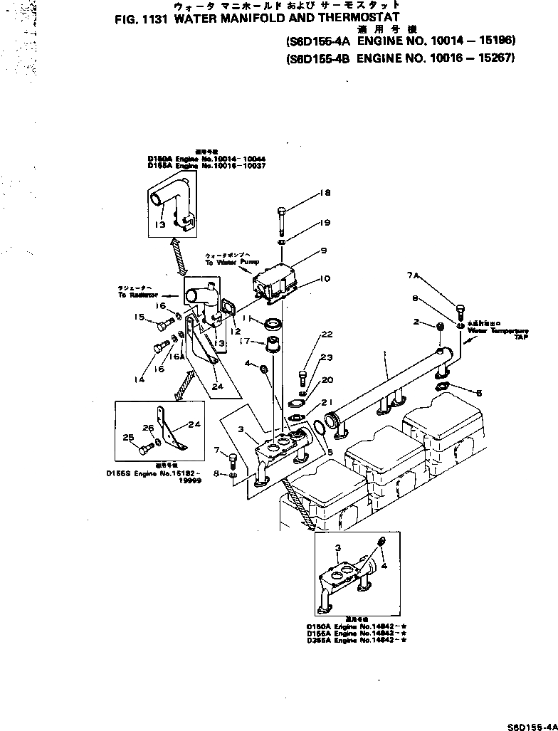
1

6128-11-6110

MANIFOLD

SN: 10014-15196

1шт.

|1

6128-11-6190

MANIFOLD,(WITH OVER HEAT SENSER)

SN: 10014-15196

1шт.

2

07042-00415

PLUG

SN: 14947-@

1шт.

|2

07042-00312

PLUG

SN: 10014-14946

1шт.

3

6127-11-6121

MANIFOLD

SN: 14842-@

1шт.

|3

6127-11-6120

MANIFOLD

SN: 10016-14841

1шт.

|3

0

MANIFOLD

SN: (10014-10015)

1шт.

4

07042-00211

PLUG

SN: 14842-@

1шт.

|4

07042-00211

PLUG

SN: 10014-14841

2шт.

5

07000-03075

O-RING (K1)

SN: 10014-15196

1шт.

6

6128-11-6800

GASKET ASS'Y

SN: 14953-@

6шт.

|6

0

GASKET ASS'Y

SN: 14825-14952

6шт.

|6

0

GASKET ASS'Y

SN: 14820-14824

6шт.

|6

0

GASKET ASS'Y

SN: 10014-14819

6шт.

6A

6128-11-6810

GASKET,(NOT SHOWN) (K1)

SN: 14953-@

1шт.

|6A

6128-11-6810

GASKET,(NOT SHOWN) (K1)

SN: 14820-14824

1шт.

6B

6128-11-6820

SEAL,(NOT SHOWN) (K1)

SN: 14953-@

1шт.

|6B

6128-11-6820

SEAL,(NOT SHOWN) (K1)

SN: 14820-14824

1шт.

7

01010-31030

BOLT

SN: 14953-@

4шт.

|7

01010-31030

BOLT

SN: 14825-14952

12шт.

|7

01010-31030

BOLT

SN: 14820-14824

4шт.

|7

01010-31030

BOLT

SN: 10014-14819

12шт.

7A

01010-31035

BOLT

SN: 14953-@

8шт.

|7A

01010-31035

BOLT

SN: 14820-14824

8шт.

8

01602-01030

WASHER

SN: 10014-@

12шт.

9

6128-11-6410

HOUSING

SN: 10014-@

1шт.

10

6127-11-6430

GASKET (K1)

SN: 10014-@

1шт.

11

6127-11-6441

SEAL

SN: 10014-@

2шт.

12

6127-11-6470

GASKET (K1)

SN: 10014-@

1шт.

13

6128-11-6460

CONNECTOR

SN: 10045-@

1шт.

|13

6127-11-6560

CONNECTOR

SN: 10014-10044

1шт.

14

01010-31090

BOLT

SN: 10014-@

2шт.

15

01010-31080

BOLT

SN: 10014-@

2шт.

16

01602-01030

WASHER

SN: 10014-@

4шт.

16A

01643-31032

WASHER

SN: 10014-@

2шт.

17

6127-11-6520

THERMOSTAT

SN: 25526-@

2шт.

|17

600-421-6610

THERMOSTAT

SN: 10014-25525

2шт.

18

01011-31000

BOLT

SN: 14413-@

6шт.

|18

0

BOLT

SN: 10014-14412

6шт.

19

01602-01030

WASHER

SN: 10014-@

6шт.

20

6127-61-6250

COVER

SN: 10014-10081

1шт.

21

6127-61-6850

GASKET (K1)

SN: 10014-10081

1шт.

22

01010-31025

BOLT

SN: 10014-10081

2шт.

23

01602-01030

WASHER

SN: 10014-10081

2шт.

24

6127-11-6880

BRACKET

SN: 10014-10081

1шт.

Выбрано товаров: 45