Запчасти Komatsu S6D155-4A ВОДЯНОЙ КОЛЛЕКТОР И ТЕРМОСТАТ(№-) ГОЛОВКА ЦИЛИНДРОВ

Схема запчастей Komatsu S6D155-4A - ВОДЯНОЙ КОЛЛЕКТОР И ТЕРМОСТАТ(№-) ГОЛОВКА ЦИЛИНДРОВ
FIT
1:1
100%

Артикул

Название

Примечание

Количество

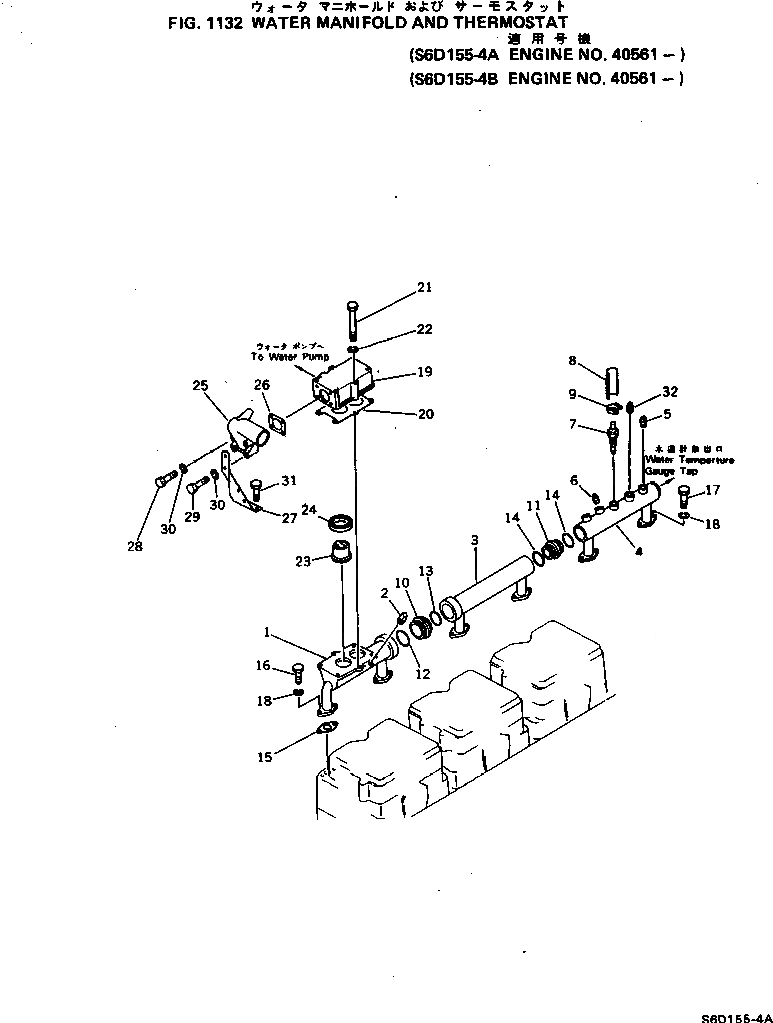
1

6127-11-6121

MANIFOLD

SN: 14842-UP

1шт.

2

07042-00211

PLUG

SN: 14842-UP

1шт.

3

6128-11-6210

MANIFOLD

SN: 15197-UP

1шт.

4

6128-11-6142

MANIFOLD

SN: 30279-UP

1шт.

5

07042-00415

PLUG

SN: 14947-UP

1шт.

6

07042-00415

PLUG

SN: 25072-UP

1шт.

7

600-815-1770

SWITCH

SN: 40561-UP

1шт.

8

6128-81-4540

COVER

SN: 40561-UP

1шт.

9

07281-00419

CLAMP

SN: 40561-UP

1шт.

10

6128-11-6270

JOINT

SN: 15197-UP

1шт.

11

6128-11-6280

JOINT

SN: 15197-UP

1шт.

12

07000-05075

O-RING (K1)

SN: 15197-UP

1шт.

13

07000-05065

O-RING (K1)

SN: 15197-UP

1шт.

14

07000-05055

O-RING (K1)

SN: 15197-UP

2шт.

15

6128-11-6811

GASKET (K1)

SN: 14953-UP

6шт.

16

01010-31030

BOLT

SN: 14953-UP

4шт.

17

01010-31035

BOLT

SN: 14953-UP

8шт.

18

01602-01030

WASHER

SN: 10014-UP

12шт.

19

6128-11-6410

HOUSING

SN: 10014-UP

1шт.

20

6127-11-6430

GASKET (K1)

SN: 10014-UP

1шт.

21

01011-31000

BOLT

SN: 14413-UP

6шт.

22

01602-01030

WASHER

SN: 14413-UP

6шт.

23

600-421-6610

THERMOSTAT

SN: 48681-UP

2шт.

|23

0

THERMOSTAT

SN: 25526-48680

2шт.

24

6162-13-6440

SEAL (K1)

SN: 48681-UP

2шт.

|24

0

SEAL (K1)

SN: 10014-48680

2шт.

25

6128-11-6470

CONNECTOR

SN: 24805-UP

1шт.

26

6127-11-6470

GASKET (K1)

SN: 10014-UP

1шт.

27

6127-11-6872

BRACKET

SN: 24707-UP

1шт.

28

01010-31080

BOLT

SN: 10014-UP

2шт.

29

01010-31095

BOLT

SN: 24707-UP

2шт.

30

01602-01030

WASHER

SN: 10014-UP

10шт.

31

01011-31210

BOLT

SN: 20000-UP

2шт.

32

07042-00312

PLUG

SN: .-UP

2шт.

Выбрано товаров: 34