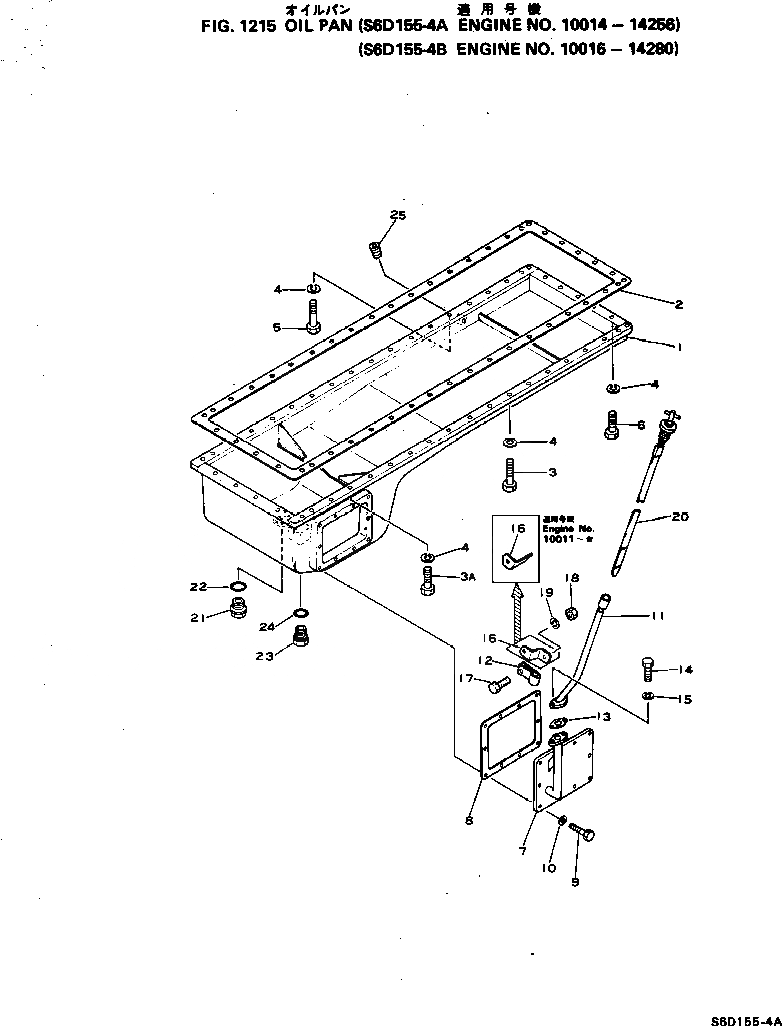
Запчасти Komatsu S6D155-4A МАСЛЯНЫЙ ПОДДОН(№-) БЛОК ЦИЛИНДРОВ

Схема запчастей Komatsu S6D155-4A - МАСЛЯНЫЙ ПОДДОН(№-) БЛОК ЦИЛИНДРОВ
FIT
1:1
100%

Артикул

Название

Примечание

Количество

1

6127-21-5116

PAN

SN: 11782-14256

1шт.

|1

0

PAN

SN: 10014-11781

1шт.

2

6127-21-5811

GASKET (K2)

SN: 10014-@

1шт.

3

01010-31035

BOLT

SN: 14050-@

31шт.

|3

01010-31035

BOLT

SN: 11775-14049

39шт.

|3

01010-31030

BOLT

SN: 10014-11774

42шт.

3A

01010-31030

BOLT

SN: 14050-@

11шт.

|3A

01010-31030

BOLT

SN: 11775-14049

3шт.

4

01602-01030

WASHER

SN: 10014-@

47шт.

6

6110-63-2820

BOLT

SN: 10014-@

5шт.

7

6127-21-5151

BRACKET

SN: 10014-@

1шт.

|7

6128-91-2114

BRACKET,(A)

SN: 10014-@

1шт.

8

6127-21-5161

GASKET (K2)

SN: 10014-@

1шт.

9

01010-31020

BOLT

SN: 10014-@

10шт.

10

01602-01030

WASHER

SN: 10014-@

10шт.

11

6127-21-5410

GUIDE

SN: 10014-14256

1шт.

12

6127-21-5450

CLAMP

SN: 10014-@

1шт.

13

6127-21-5420

GASKET (K2)

SN: 10014-@

1шт.

14

01010-30825

BOLT

SN: 10278-@

2шт.

|14

01000-30825

BOLT

SN: 10014-10277

2шт.

15

01602-00825

WASHER

SN: 10014-@

2шт.

16

6127-21-5464

PLATE

SN: 10014-@

1шт.

17

01010-30820

BOLT

SN: 10278-@

1шт.

|17

01000-30820

BOLT

SN: 10014-10277

1шт.

18

01580-00806

NUT

SN: 10278-@

1шт.

|18

01500-30807

NUT

SN: 10014-10277

1шт.

19

01602-00825

WASHER

SN: 10014-@

1шт.

20

6127-21-5302

GAUGE

SN: 11538-14256

1шт.

|20

0

GAUGE

SN: 10014-11537

1шт.

|20

6128-21-5301

GAUGE,(A)

SN: 10014-@

1шт.

21

07044-13620

PLUG

SN: 10278-@

1шт.

|21

07044-03620

PLUG

SN: 10014-10277

1шт.

22

07000-03032

O-RING (K2)

SN: 10014-@

1шт.

23

07040-01812

PLUG

SN: 10014-14256

1шт.

|23

07040-11812

PLUG

SN: 10014-14256

1шт.

24

07000-02015

O-RING

SN: 10014-14256

1шт.

25

02720-20607

PLUG

SN: 10014-14256

1шт.

Выбрано товаров: 37