Запчасти Komatsu S6D155-4A ПОРШЕНЬ И ШАТУН(№8-78) БЛОК ЦИЛИНДРОВ

Схема запчастей Komatsu S6D155-4A - ПОРШЕНЬ И ШАТУН(№8-78) БЛОК ЦИЛИНДРОВ
FIT
1:1
100%

Артикул

Название

Примечание

Количество

|1

0

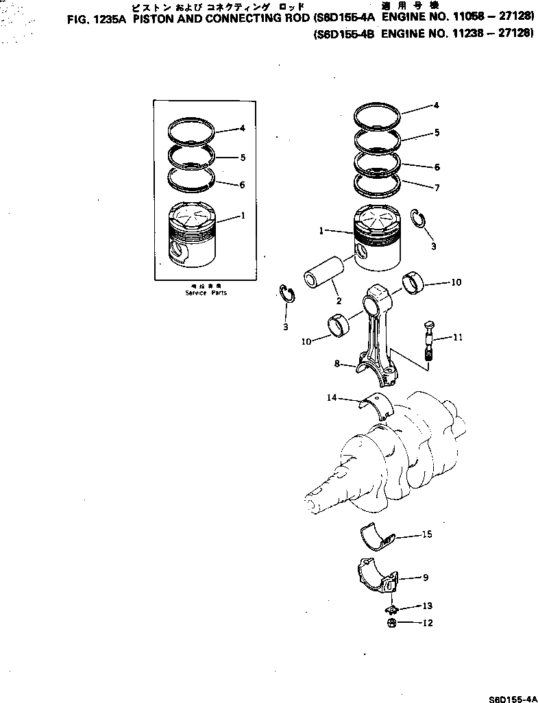
PISTON ASS'Y

SN: 14257-27128

6шт.

|$$2

(6127-31-2030(6){6128-31-2060)}

-1шт.

|1

6127-31-2030

PISTON ASS'Y,(SERVICE PARTS)

SN: 14257-@

6шт.

|1

0

PISTON ASS'Y

SN: 11058-14256

6шт.

|$$5

(6127-31-2014(6){6128-31-2060)}

-1шт.

|1

6127-31-2014

PISTON ASS'Y,(SERVICE PARTS)

SN: 10014-14256

6шт.

1

6128-31-2113

PISTON

SN: 14257-27128

1шт.

|1

6127-31-2140

PISTON,(SERVICE PARTS)

SN: 14257-@

1шт.

|1

6127-31-2115

PISTON

SN: 11058-14256

1шт.

|1

6127-31-2116

PISTON,(SERVICE PARTS)

SN: 10014-14256

1шт.

2

6127-31-2410

PIN

SN: 10014-@

1шт.

3

6120-31-2120

RING

SN: 10014-@

2шт.

|4

6128-31-2023

PISTON RING ASS'Y

SN: 25818-27128

1шт.

|4

0

PISTON RING ASS'Y

SN: 22666-25817

1шт.

|4

0

PISTON RING ASS'Y

SN: 11058-22665

1шт.

|4

6128-31-2060

PISTON RING ASS'Y,(SERVICE PARTS)

SN: 10014-@

1шт.

|4

6128-31-2033

PISTON RING ASS'Y

SN: 25818-27128

6шт.

|4

0

PISTON RING ASS'Y

SN: 22666-25817

6шт.

|4

0

PISTON RING ASS'Y

SN: 11058-22665

6шт.

|4

6128-31-2070

PISTON RING ASS'Y,(SERVICE PARTS)

SN: 10014-@

6шт.

4

0

RING

SN: 22666-27128

1шт.

|4

0

RING

SN: 10014-22665

1шт.

|4

0

RING,(SERVICE PARTS)

SN: 10014-@

1шт.

5

0

RING

SN: 25818-27128

1шт.

|5

0

RING

SN: 10014-25817

1шт.

|5

0

RING,(SERVICE PARTS)

SN: 10014-@

1шт.

|6

0

RING

SN: 22666-27128

1шт.

|6

0

RING

SN: 11058-22665

1шт.

|6

0

RING,(SERVICE PARTS)

SN: 10014-@

1шт.

7

0

RING

SN: 11058-27128

1шт.

|8

6127-31-3101

CONNECTING ROD ASS'Y

SN: 11058-@

6шт.

8

0

ROD

SN: 11058-@

1шт.

9

0

CAP

SN: 11058-@

1шт.

10

6127-31-3131

BUSHING

SN: 11746-@

2шт.

|10

0

BUSHING

SN: 10014-11745

2шт.

11

6127-31-3314

BOLT

SN: 11740-@

2шт.

|11

0

BOLT

SN: 11704-11739

2шт.

|11

0

BOLT

SN: 11058-11703

2шт.

12

6127-31-3321

NUT

SN: 10278-@

2шт.

13

6127-31-3333

WASHER

SN: 11508-@

2шт.

|$$41

STANDARD

-1шт.

|14

6127-31-3042

CRANK PIN METAL A.

SN: 10728-@

6шт.

14

0

METAL

SN: 10728-@

1шт.

15

0

METAL

SN: 10728-@

1шт.

|$$45

UNDERSIZE 0.25MM

-1шт.

|14

6127-39-3042

CRANK PIN METAL A.

SN: 10728-@

6шт.

14

0

METAL

SN: 10728-@

1шт.

15

0

METAL

SN: 10728-@

1шт.

|$$49

UNDERSIZE 0.50MM

-1шт.

|14

6127-38-3042

CRANK PIN METAL A.

SN: 10728-@

6шт.

14

0

METAL

SN: 10728-@

1шт.

15

0

METAL

SN: 10728-@

1шт.

|$$53

UNDERSIZE 0.75MM

-1шт.

|14

6127-37-3042

CRANK PIN METAL A.

SN: 10728-@

6шт.

14

0

METAL

SN: 10728-@

1шт.

15

0

METAL

SN: 10728-@

1шт.

|$$57

UNDERSIZE 1.00MM

-1шт.

|14

6127-36-3042

CRANK PIN METAL A.

SN: 10728-@

6шт.

14

0

METAL

SN: 10728-@

1шт.

15

0

METAL

SN: 10728-@

1шт.

Выбрано товаров: 60