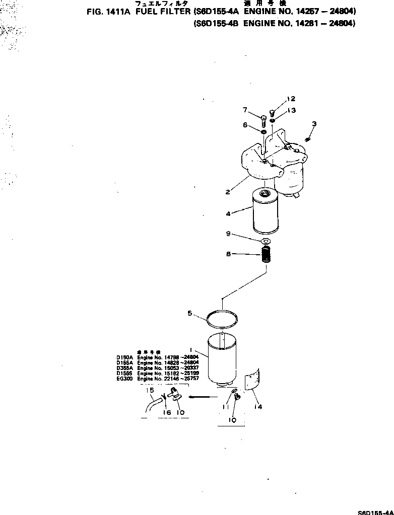
Запчасти Komatsu S6D155-4A ТОПЛИВН. ФИЛЬТР.(№7-8) ТОПЛИВН. СИСТЕМА

Схема запчастей Komatsu S6D155-4A - ТОПЛИВН. ФИЛЬТР.(№7-8) ТОПЛИВН. СИСТЕМА
FIT
1:1
100%

Артикул

Название

Примечание

Количество

|1

6127-71-6201

FUEL FILTER ASS'Y

SN: 14798-24804

1шт.

|1

0

FUEL FILTER ASS'Y

SN: 14257-14797

1шт.

1

6127-71-6221

CASE

SN: 14798-24804

2шт.

|1

6127-71-6220

CASE

SN: 14257-14797

2шт.

2

6127-71-6210

COVER

SN: 14257-24804

1шт.

3

07042-00108

PLUG

SN: 14257-24804

1шт.

|4

6127-71-6090

ELEMENT ASS'Y

SN: 14257-24804

2шт.

4

0

ELEMENT

SN: 14257-24804

1шт.

5

6110-73-6810

GASKET

SN: 14257-24804

1шт.

6

07005-01012

GASKET

SN: 14257-24804

1шт.

7

6127-71-6230

BOLT

SN: 14257-24804

2шт.

8

6127-71-6240

SPRING

SN: 14798-24804

2шт.

|8

0

SPRING

SN: 14257-14797

2шт.

9

6110-73-6220

SEAT

SN: 14257-24804

2шт.

10

6610-71-8961

VALVE

SN: 14798-24804

2шт.

|10

07040-10807

PLUG

SN: 14257-14797

2шт.

11

07005-00812

GASKET

SN: 14257-14797

2шт.

12

6110-73-6231

PLUG

SN: 14257-24804

2шт.

13

07005-00812

GASKET

SN: 14257-24804

2шт.

14

09643-00100

PLATE¤ CAUTION,(JAPANESE-ENGLISH)

SN: 14257-24804

2шт.

|14

6128-81-1510

PLATE¤ CAUTION,(GREEK)

SN: 14257-24804

2шт.

15

6127-71-6830

TUBE

SN: 20000-24804

2шт.

|15

07270-00860

TUBE

SN: 14798-19999

2шт.

16

04059-01012

WIRE

SN: 14798-24804

1шт.

Выбрано товаров: 24