Запчасти Komatsu S6D155-4K - -

Схема запчастей Komatsu S6D155-4K - - -
FIT
1:1
100%

Артикул

Название

Примечание

Количество

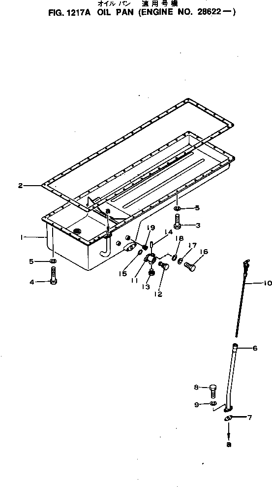
1

6127-21-5251

OIL PAN

SN: 28662-UP

1шт.

|1

6127-21-5250

OIL PAN

SN: 28631-28661

1шт.

|1

6127-21-5251

OIL PAN

SN: 28623-28630

1шт.

|1

6127-21-5250

OIL PAN

SN: 28622-28622

1шт.

2

6127-21-5850

GASKET

SN: 28770-UP

1шт.

|2

6127-21-5850

GASKET

SN: 28622-28679

1шт.

3

01010-31035

BOLT

SN: 28622-UP

36шт.

4

01010-31030

BOLT

SN: 22146-UP

11шт.

5

01602-01030

WASHER

SN: 22146-UP

47шт.

6

6127-21-5440

GAUGE

SN: 28622-UP

1шт.

7

6127-21-5550

GASKET

SN: 28770-UP

1шт.

|7

6127-21-5550

GASKET

SN: 28622-28679

1шт.

8

01010-30825

BOLT

SN: 22146-UP

2шт.

9

01602-00825

WASHER

SN: 22146-UP

2шт.

10

6128-21-5301

OIL GAUGE ASS'Y

SN: 22146-UP

1шт.

|11

6693-22-5600

VALVE ASS'Y

SN: 28622-UP

1шт.

11

6693-22-5610

BODY

SN: 28622-UP

1шт.

12

6693-22-5620

VALVE

SN: 28622-UP

1шт.

13

07040-02412

PLUG

SN: 28622-UP

1шт.

14

04400-00310

RIVET

SN: 28622-UP

1шт.

15

07000-63028

O-RING

SN: 28770-UP

1шт.

|15

07000-63028

O-RING

SN: 28622-28679

1шт.

16

01010-31025

BOLT

SN: 22146-UP

2шт.

17

01602-01030

WASHER

SN: 22146-UP

2шт.

18

01640-21016

WASHER

SN: 22146-UP

2шт.

19

02720-11616

PLUG

SN: 28622-UP

2шт.

Выбрано товаров: 26