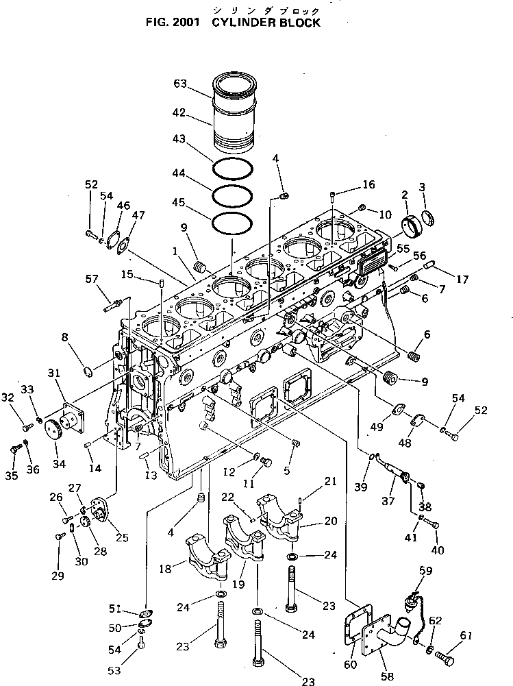
Запчасти Komatsu S6D155-4R БЛОК ЦИЛИНДРОВ(№89-) БЛОК ЦИЛИНДРОВ

Схема запчастей Komatsu S6D155-4R - БЛОК ЦИЛИНДРОВ(№89-) БЛОК ЦИЛИНДРОВ
FIT
1:1
100%

Артикул

Название

Примечание

Количество

|$0

6127-21-1031

CYLINDER BLOCK A.

SN: 48953-UP

1шт.

|$1

6127-21-1051

CYLINDER BLOCK A.

SN: 48953-UP

1шт.

1

0

BLOCK

SN: 48953-UP

1шт.

2

6127-21-1490

BUSHING

SN: 48953-UP

7шт.

3

6127-21-1150

PLUG

SN: 48953-UP

1шт.

4

6100-21-1130

PLUG

SN: 48953-UP

8шт.

5

6110-23-1170

PLUG

SN: 48953-UP

5шт.

6

07043-51019

PLUG

SN: 48953-UP

2шт.

7

07043-50415

PLUG

SN: 48953-UP

2шт.

8

07046-15020

PLUG

SN: 48953-UP

1шт.

9

07043-51222

PLUG

SN: 48953-UP

9шт.

10

07043-51422

PLUG

SN: 48953-UP

1шт.

11

07040-11409

PLUG

SN: 48953-UP

1шт.

12

07005-01412

GASKET (K2)

SN: 48953-UP

1шт.

13

04020-01842

PIN

SN: 48953-UP

2шт.

14

04020-00820

PIN

SN: 48953-UP

2шт.

15

04020-01024

PIN

SN: 48953-UP

6шт.

16

6127-21-1130

ORIFICE

SN: 48953-UP

3шт.

17

6127-21-1160

PIN

SN: 48953-UP

2шт.

18

0

CAP

SN: 48953-UP

1шт.

19

0

CAP

SN: 48953-UP

5шт.

|$21

6127-21-1022

MAIN METAL CAP A.

SN: 48953-UP

1шт.

20

0

CAP

SN: 48953-UP

1шт.

21

6127-21-1260

PIN

SN: 48953-UP

2шт.

22

04020-00616

PIN

SN: 48953-UP

2шт.

23

6127-21-1710

BOLT

SN: 48953-UP

14шт.

24

6127-21-1741

WASHER

SN: 48953-UP

14шт.

25

6127-21-2412

SHAFT

SN: 48953-UP

1шт.

26

01010-31035

BOLT

SN: 48953-UP

3шт.

27

01650-21012

WASHER (K2)

SN: 48953-UP

3шт.

28

6127-21-2421

PLATE

SN: 48953-UP

1шт.

29

01050-61025

BOLT

SN: 48953-UP

2шт.

30

6127-21-2431

LOCK (K2)

SN: 48953-UP

1шт.

31

6127-21-2510

SHAFT

SN: 48953-UP

1шт.

32

01010-31230

BOLT

SN: 48953-UP

4шт.

33

01650-21212

WASHER (K2)

SN: 48953-UP

4шт.

34

6127-21-2521

PLATE

SN: 48953-UP

1шт.

35

01050-31030

BOLT

SN: 48953-UP

2шт.

36

01643-31032

WASHER

SN: 48953-UP

2шт.

|$39

6128-21-1070

NOZZLE ASS'Y,NO.1.2.4.5.6

SN: 48953-UP

5шт.

|$40

6127-21-1071

NOZZLE ASS'Y,NO.3

SN: 48953-UP

1шт.

37

0

NOZZLE,NO.1.2.4.5.6

SN: 48953-UP

1шт.

37

0

NOZZLE,NO.3

SN: 48953-UP

1шт.

38

6100-21-1130

PLUG

SN: 48953-UP

1шт.

39

07000-62016

O-RING (K2)

SN: 48953-UP

1шт.

40

01010-30818

BOLT

SN: 48953-UP

6шт.

41

01602-00825

WASHER

SN: 48953-UP

6шт.

42

6128-21-2215

LINER

SN: 48953-UP

6шт.

43

6127-21-2251

SEAL (K2)

SN: 48953-UP

6шт.

44

6127-21-2221

O-RING (K2)

SN: 48953-UP

6шт.

45

6127-21-2241

O-RING (K2)

SN: 48953-UP

6шт.

46

6127-21-6710

COVER

SN: 48953-UP

1шт.

47

6127-21-6720

GASKET (K2)

SN: 48953-UP

1шт.

48

6127-21-6810

FLANGE

SN: 48953-UP

1шт.

49

6127-21-6820

GASKET (K2)

SN: 48953-UP

1шт.

50

6127-51-6950

COVER

SN: 48953-UP

1шт.

51

6127-51-6920

GASKET (K2)

SN: 48953-UP

1шт.

52

01010-31025

BOLT

SN: 48953-UP

4шт.

53

01010-31020

BOLT

SN: 48953-UP

2шт.

54

01602-01030

WASHER

SN: 48953-UP

6шт.

55

09605-00051

PLATE, NAME,(LIMITED SUPPLY)

SN: 48953-UP

1шт.

56

04418-03060

SCREW

SN: 48953-UP

4шт.

57

6127-21-1170

SPRAY

SN: 48953-UP

1шт.

58

6128-21-7120

FILLER

SN: 48953-UP

1шт.

59

07025-00100

CAP

SN: 48953-UP

1шт.

60

6127-21-6521

GASKET (K2)

SN: 48953-UP

1шт.

61

01010-30825

BOLT

SN: 48953-UP

8шт.

62

01602-00825

WASHER

SN: 48953-UP

8шт.

63

6127-29-2230

SHIM, 0.18MM

SN: 48953-UP

-2шт.

63

6127-28-2230

SHIM, 0.20MM

SN: 48953-UP

-2шт.

63

6127-27-2230

SHIM, 0.23MM

SN: 48953-UP

-2шт.

63

6127-26-2230

SHIM, 0.51MM

SN: 48953-UP

-2шт.

63

6127-25-2230

SHIM, 0.79MM

SN: 48953-UP

-2шт.

63

6127-24-2230

SHIM, 1.57MM

SN: 48953-UP

-2шт.

Выбрано товаров: 74