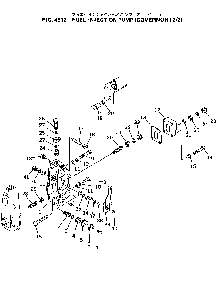
Запчасти Komatsu S6D155-4R ТОПЛ. НАСОС (РЕГУЛЯТОР) (/)(№89-) ТОПЛИВН. СИСТЕМА

Схема запчастей Komatsu S6D155-4R - ТОПЛ. НАСОС (РЕГУЛЯТОР) (/)(№89-) ТОПЛИВН. СИСТЕМА
FIT
1:1
100%

Артикул

Название

Примечание

Количество

|$0

6127-71-1321

INJECTION PUMP ASS'Y

SN: 48953-UP

1шт.

|$1

DK105448-9430

GOVERNOR ASS'Y

SN: 48953-UP

1шт.

1

DK154520-2420

COVER

SN: 48953-UP

1шт.

2

DK154321-0200

BUSHING

SN: 48953-UP

1шт.

3

DK029630-9050

O-RING

SN: 48953-UP

1шт.

4

DK154327-0100

SPRING

SN: 48953-UP

1шт.

5

DK154322-0100

CAP

SN: 48953-UP

1шт.

6

DK154304-9420

LEVER

SN: 48953-UP

1шт.

7

DK020006-2040

BOLT

SN: 48953-UP

1шт.

8

DK029000-6480

BOLT

SN: 48953-UP

5шт.

9

DK029000-6470

BOLT

SN: 48953-UP

4шт.

10

DK029320-6010

WASHER

SN: 48953-UP

9шт.

11

DK029300-6040

WASHER

SN: 48953-UP

9шт.

12

DK154063-0900

COVER

SN: 48953-UP

1шт.

13

DK154350-8200

GASKET

SN: 48953-UP

1шт.

14

DK029020-6210

BOLT

SN: 48953-UP

4шт.

15

DK029300-6040

WASHER

SN: 48953-UP

4шт.

16

DK154031-3000

SCREW

SN: 48953-UP

1шт.

17

DK154237-0200

PIN

SN: 48953-UP

1шт.

18

DK154036-0300

PLUG

SN: 48953-UP

2шт.

19

DK154050-3900

CAP

SN: 48953-UP

1шт.

20

DK029332-0050

GASKET

SN: 48953-UP

1шт.

21

DK026506-1040

GASKET

SN: 48953-UP

2шт.

22

DK029240-6010

NUT

SN: 48953-UP

1шт.

23

DK154035-1600

NUT

SN: 48953-UP

1шт.

24

DK131002-3800

ADAPTER

SN: 48953-UP

1шт.

25

DK029711-2350

EYE

SN: 48953-UP

1шт.

26

DK029731-2240

BOLT

SN: 48953-UP

1шт.

27

DK029341-2140

GASKET

SN: 48953-UP

2шт.

28

DK154170-0220

ANGLEICH SPRING A.

SN: 48953-UP

1шт.

29

DK029201-6010

NUT

SN: 48953-UP

1шт.

30

DK154158-0620

CAPSULE

SN: 48953-UP

1шт.

31

DK029201-2290

NUT

SN: 48953-UP

1шт.

32

DK026512-1640

GASKET

SN: 48953-UP

1шт.

33

DK154159-0100

NUT

SN: 48953-UP

1шт.

34

DK154204-1500

BUSHING

SN: 48953-UP

1шт.

35

DK016500-1610

O-RING

SN: 48953-UP

2шт.

36

DK016010-1640

RING

SN: 48953-UP

2шт.

37

DK029621-1060

SEAL

SN: 48953-UP

1шт.

38

DK029311-1020

SHIM, 1.0MM

SN: 48953-UP

1шт.

39

DK154345-1520

LEVER

SN: 48953-UP

1шт.

40

DK025803-1310

KEY, 13MM

SN: 48953-UP

1шт.

41

DK154204-1600

BUSHING

SN: 48953-UP

1шт.

Выбрано товаров: 43