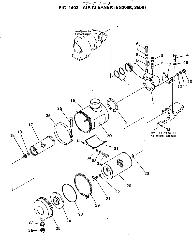
Запчасти Komatsu S6D155-4R ВОЗДУХООЧИСТИТЕЛЬ (EGB)(№89-) ГОЛОВКА ЦИЛИНДРОВ

Схема запчастей Komatsu S6D155-4R - ВОЗДУХООЧИСТИТЕЛЬ (EGB)(№89-) ГОЛОВКА ЦИЛИНДРОВ
FIT
1:1
100%

Артикул

Название

Примечание

Количество

1

6127-11-4930

PIPE

SN: 48953-UP

1шт.

2

600-181-0320

ADAPTER

SN: 48953-UP

1шт.

3

08670-00635

INDICATOR

SN: 48953-UP

1шт.

4

02895-67116

O-RING (K1)

SN: 48953-UP

2шт.

5

6127-11-4421

PLATE

SN: 48953-UP

1шт.

6

01010-31025

BOLT

SN: 48953-UP

2шт.

7

01602-01030

WASHER

SN: 48953-UP

2шт.

8

01640-21016

WASHER

SN: 48953-UP

2шт.

9

6127-81-4821

GASKET (K1)

SN: 48953-UP

1шт.

10

01580-01008

NUT

SN: 48953-UP

8шт.

11

01602-01030

WASHER

SN: 48953-UP

8шт.

12

01640-21016

WASHER

SN: 48953-UP

8шт.

13

6127-11-4950

BRACKET

SN: 48953-UP

1шт.

14

01010-31430

BOLT

SN: 48953-UP

4шт.

15

01602-01442

WASHER

SN: 48953-UP

4шт.

|$15

6128-81-7601

AIR CLEANER ASS'Y

SN: 48953-UP

1шт.

16

6128-81-7620

BODY

SN: 48953-UP

1шт.

|$17

6128-81-7051

ELEMENT ASS'Y

SN: 48953-UP

1шт.

17

6127-81-7412

ELEMENT

SN: 48953-UP

1шт.

18

600-181-9671

NUT

SN: 48953-UP

1шт.

19

600-181-7511

WASHER

SN: 48953-UP

1шт.

|$21

600-181-4200

ELEMENT ASS'Y

SN: 48953-UP

1шт.

20

0

ELEMENT

SN: 48953-UP

1шт.

21

600-181-1990

NUT

SN: 48953-UP

1шт.

22

600-181-4591

WASHER

SN: 48953-UP

1шт.

23

04064-01510

RING

SN: 48953-UP

1шт.

24

6127-82-7530

BAFFLE

SN: 48953-UP

1шт.

25

6127-82-7520

COVER

SN: 48953-UP

1шт.

26

6112-81-7810

VALVE

SN: 48953-UP

1шт.

27

6112-81-7820

CLAMP

SN: 48953-UP

1шт.

28

6127-82-7550

O-RING

SN: 48953-UP

1шт.

29

6127-82-7540

CLAMP

SN: 48953-UP

1шт.

30

09641-00161

PLATE, INSTRUCTION

SN: 48953-UP

1шт.

31

6127-11-4940

BRACKET

SN: 48953-UP

1шт.

32

01010-31025

BOLT

SN: 48953-UP

2шт.

33

01602-01030

WASHER

SN: 48953-UP

2шт.

34

01640-21016

WASHER

SN: 48953-UP

2шт.

35

6128-11-4380

BAND ASS'Y

SN: 48953-UP

1шт.

36

6643-11-4641

BOLT

SN: 48953-UP

1шт.

Выбрано товаров: 39