Запчасти Komatsu S6D155-4R - -

Схема запчастей Komatsu S6D155-4R - - -
FIT
1:1
100%

Артикул

Название

Примечание

Количество

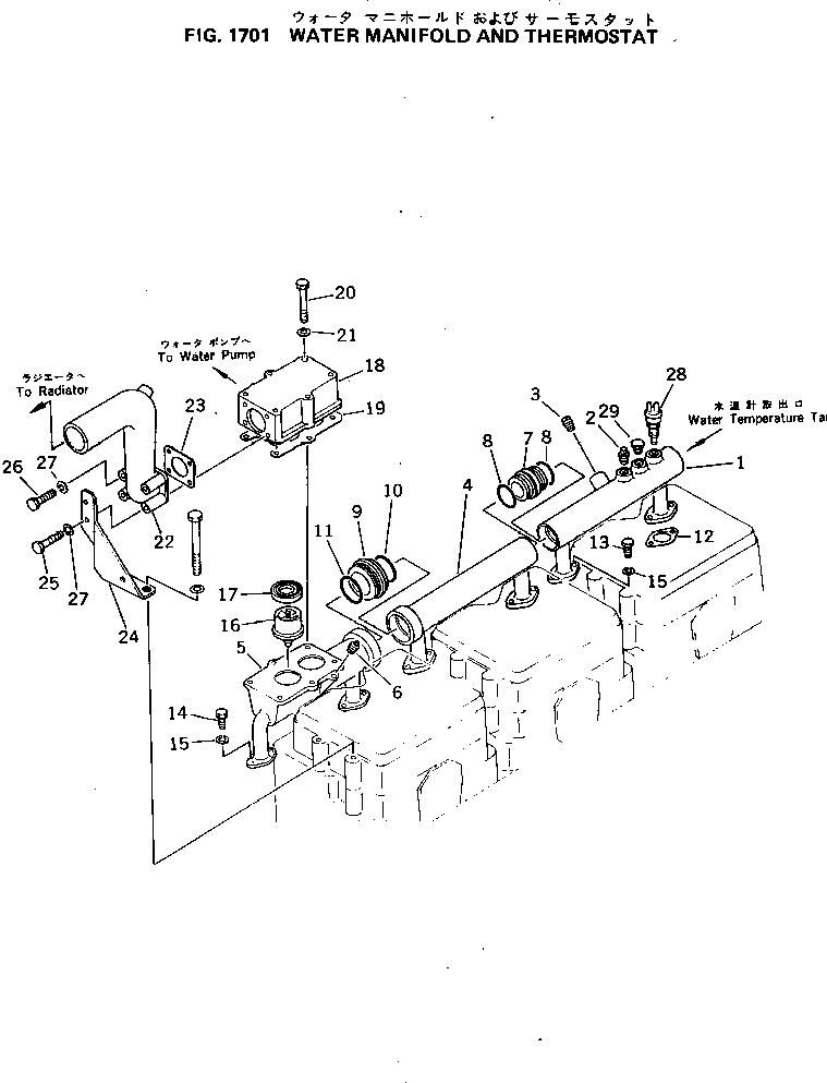
1

6128-11-6141

WATER MANIFOLD

SN: 48953-UP

1шт.

2

07042-00312

PLUG

SN: 48953-UP

1шт.

3

07042-00415

PLUG

SN: 48953-UP

1шт.

4

6128-11-6210

WATER MANIFOLD

SN: 48953-UP

1шт.

5

6127-11-6121

WATER MANIFOLD

SN: 48953-UP

1шт.

6

07042-00211

PLUG

SN: 48953-UP

1шт.

7

6128-11-6280

JOINT

SN: 48953-UP

1шт.

8

07000-05055

O-RING

SN: 48953-UP

2шт.

9

6128-11-6270

JOINT

SN: 48953-UP

1шт.

10

07000-05065

O-RING

SN: 48953-UP

1шт.

11

07000-05075

O-RING

SN: 48953-UP

1шт.

12

6128-11-6811

GASKET

SN: 48953-UP

6шт.

13

01010-31035

BOLT

SN: 48953-UP

8шт.

14

01010-31030

BOLT

SN: 48953-UP

4шт.

15

01602-01030

WASHER

SN: 48953-UP

12шт.

16

600-421-6610

THERMOSTAT

SN: 48953-UP

2шт.

17

6162-13-6440

SEAL

SN: 49799-UP

2шт.

|17

0

SEAL

SN: 48953-49798

2шт.

18

6128-11-6410

THERMOSTAT

SN: 48953-UP

1шт.

19

6127-11-6430

GASKET

SN: 48953-UP

1шт.

20

01011-31000

BOLT

SN: 48953-UP

6шт.

21

01602-01030

WASHER

SN: 48953-UP

6шт.

22

6128-11-6461

ELBOW

SN: 48953-UP

1шт.

23

6127-11-6470

GASKET

SN: 48953-UP

1шт.

24

6127-11-6872

BRACKET

SN: 48953-UP

1шт.

25

01010-31095

BOLT

SN: 48953-UP

2шт.

26

01010-31080

BOLT

SN: 48953-UP

2шт.

27

01602-01030

WASHER

SN: 48953-UP

4шт.

28

600-815-1292

SWITCH

SN: 48953-UP

1шт.

29

07040-11612

PLUG

SN: 48953-UP

1шт.

Выбрано товаров: 30