Запчасти Komatsu S6D170-1A МАСЛЯНЫЙ ПОДДОН(№78-) БЛОК ЦИЛИНДРОВ

Схема запчастей Komatsu S6D170-1A - МАСЛЯНЫЙ ПОДДОН(№78-) БЛОК ЦИЛИНДРОВ
FIT
1:1
100%

Артикул

Название

Примечание

Количество

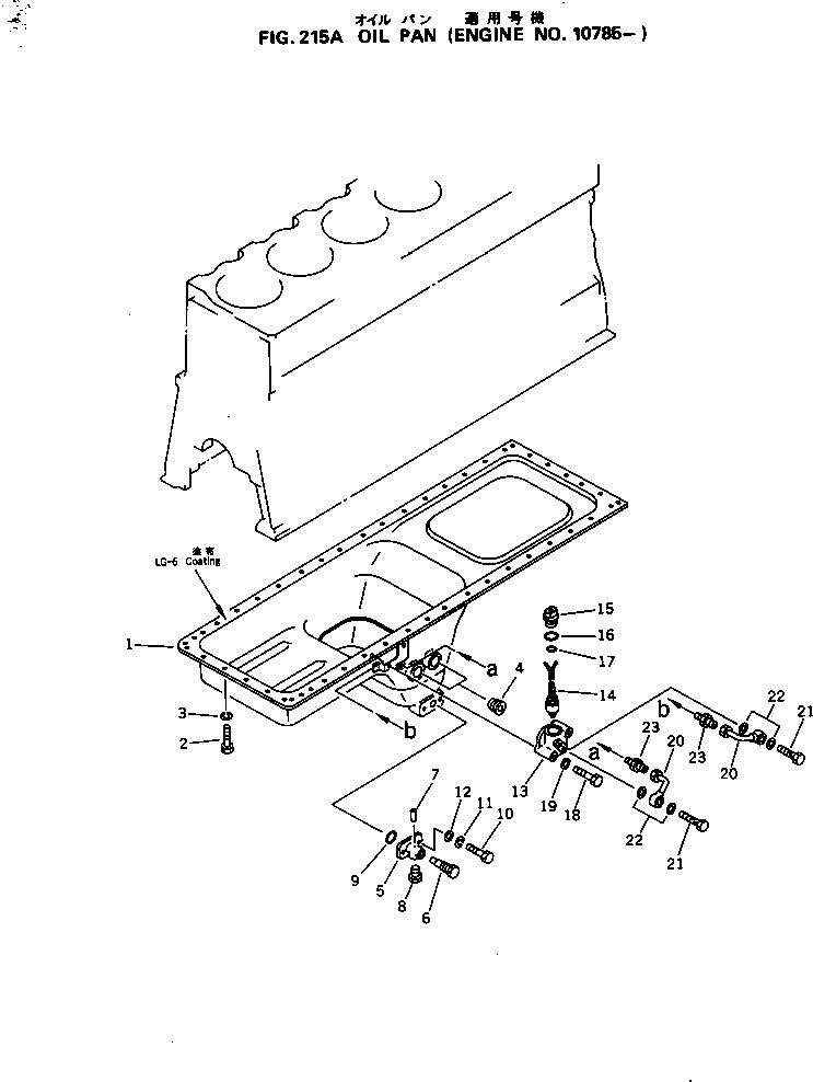
1

6162-23-5110

PAN

SN: 10785-UP

1шт.

2

01010-31030

BOLT

SN: 10025-UP

49шт.

3

01602-01030

WASHER

SN: 10025-UP

49шт.

4

02720-21616

PLUG

SN: 10025-UP

2шт.

|5

6693-22-5600

VALVE ASS'Y

SN: 10025-UP

1шт.

5

0

BODY

SN: 10025-UP

1шт.

6

0

VALVE

SN: 10025-UP

1шт.

7

04020-00514

PIN

SN: 10025-UP

1шт.

8

07040-02412

PLUG

SN: 10025-UP

1шт.

9

07000-63028

O-RING (K2)

SN: 10025-UP

1шт.

10

01010-31030

BOLT

SN: 10025-UP

2шт.

11

01602-01030

WASHER

SN: 10025-UP

2шт.

12

01640-01016

WASHER

SN: 10025-UP

2шт.

|13

6162-83-8700

LEVEL SENSOR ASS'Y

SN: 10785-UP

1шт.

13

6162-83-8612

CASE

SN: 10785-UP

1шт.

14

281-06-13942

SWITCH

SN: 10025-UP

1шт.

15

6162-83-8620

PLUG

SN: 10025-UP

1шт.

16

07002-23634

O-RING (K2)

SN: 10025-UP

1шт.

17

07002-21023

O-RING (K2)

SN: 10025-UP

1шт.

18

01010-31080

BOLT

SN: 10025-UP

2шт.

19

01641-21016

WASHER

SN: 10785-UP

2шт.

20

6162-53-6523

PIPE

SN: 10785-UP

2шт.

21

07206-11014

BOLT,JOINT

SN: 10785-UP

2шт.

22

07005-01412

GASKET (K2)

SN: 10785-UP

4шт.

23

07213-51013

CONNECTOR

SN: 10785-UP

2шт.

Выбрано товаров: 25