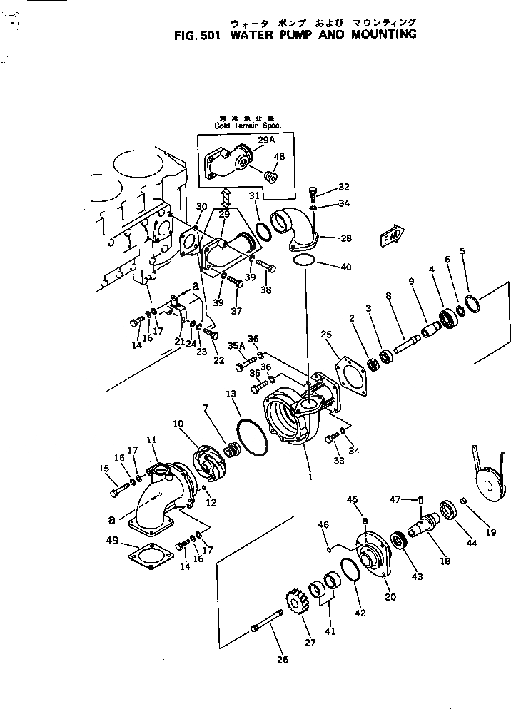
Запчасти Komatsu S6D170-1A ВОДЯНАЯ ПОМПА И КРЕПЛЕНИЕ ОХЛАЖД-Е И ЭЛЕКТРИКА

Схема запчастей Komatsu S6D170-1A - ВОДЯНАЯ ПОМПА И КРЕПЛЕНИЕ ОХЛАЖД-Е И ЭЛЕКТРИКА
FIT
1:1
100%

Артикул

Название

Примечание

Количество

|1

6162-63-1012

WATER PUMP ASS'Y

SN: 10639-UP

1шт.

|1

0

WATER PUMP ASS'Y

SN: 11088-10638

1шт.

|1

0

WATER PUMP ASS'Y

SN: 10025-11087

1шт.

1

0

BODY

SN: 10025-UP

1шт.

2

6162-63-1570

SEAL

SN: 10639-UP

1шт.

|2

0

SEAL (K6)

SN: 10025-10638

1шт.

3

06000-06205

BEARING

SN: 10025-UP

1шт.

4

06000-06306

BEARING

SN: 10025-UP

1шт.

5

6162-63-1440

RING

SN: 10025-UP

1шт.

6

6162-63-1340

RING

SN: 10025-UP

1шт.

7

6162-63-1511

SEAL¤ WATER

SN: 10639-UP

1шт.

|7

0

SEAL¤ WATER (K6)

SN: 10025-10638

1шт.

|8

6162-63-1301

SHAFT ASS'Y

SN: 10639-UP

1шт.

|8

0

SHAFT ASS'Y

SN: 10025-10638

1шт.

8

0

SHAFT

SN: 10639-UP

1шт.

|8

0

SHAFT

SN: 10025-10638

1шт.

9

0

SHAFT

SN: 10025-UP

1шт.

10

6162-63-1352

IMPELLER

SN: 10639-UP

1шт.

|10

0

IMPELLER

SN: 11088-10638

1шт.

|10

0

IMPELLER

SN: 10025-11087

1шт.

11

6162-63-1180

HOUSING

SN: 10025-UP

1шт.

12

07000-62012

O-RING

SN: 10639-UP

1шт.

|12

0

O-RING (K6)

SN: 10025-10638

1шт.

13

07000-05145

O-RING (K6)

SN: 10025-UP

1шт.

14

01010-31030

BOLT

SN: 10025-UP

3шт.

15

01010-31080

BOLT

SN: 10025-UP

1шт.

16

01602-01030

WASHER

SN: 10025-UP

4шт.

17

01640-01016

WASHER

SN: 10025-UP

4шт.

18

6162-63-1621

SHAFT

SN: .-UP

1шт.

|18

0

SHAFT

SN: 10025-.

1шт.

19

6162-63-1660

PLUG

SN: 10025-UP

1шт.

20

6162-63-1710

HOUSING

SN: 10025-UP

1шт.

21

6162-63-1530

BRACKET

SN: 10025-UP

1шт.

22

01010-31025

BOLT

SN: 10025-UP

1шт.

23

01602-01030

WASHER

SN: 10025-UP

1шт.

24

01640-21016

WASHER

SN: 10025-UP

1шт.

25

6162-63-1810

GASKET (K6)

SN: 10025-UP

1шт.

26

6162-63-1630

SHAFT

SN: 10025-UP

1шт.

27

6162-63-1610

GEAR

SN: 10025-UP

1шт.

28

6162-63-6560

ELBOW

SN: 10025-UP

1шт.

29

6162-63-6570

CONNECTOR

SN: 10025-UP

1шт.

29A

6162-63-6610

CONNECTOR,(A)

SN: 10025-UP

1шт.

30

6162-63-2160

GASKET (K6)

SN: 10025-UP

1шт.

31

07000-02070

O-RING (K6)

SN: 10025-UP

1шт.

32

01010-31235

BOLT

SN: 10025-UP

2шт.

33

01010-31270

BOLT

SN: 10025-UP

2шт.

34

01602-01236

WASHER

SN: 10025-UP

4шт.

35

01010-31030

BOLT

SN: 10025-UP

2шт.

35A

01010-31075

BOLT

SN: 10025-UP

1шт.

36

01602-01030

WASHER

SN: 10025-UP

3шт.

37

01010-31030

BOLT

SN: 10025-UP

2шт.

38

01011-31020

BOLT

SN: 10025-UP

2шт.

39

01602-01030

WASHER

SN: 10025-UP

4шт.

40

07000-02075

O-RING (K6)

SN: 10025-UP

1шт.

41

6127-31-6221

BUSHING

SN: 10025-UP

2шт.

42

07000-62095

O-RING

SN: .-UP

1шт.

|42

0

O-RING (K6)

SN: 10025-.

1шт.

43

6127-31-6261

BEARING

SN: 10025-UP

1шт.

44

07012-20048

SEAL (K6)

SN: 10025-UP

1шт.

45

07043-00108

PLUG

SN: 10025-UP

1шт.

46

07000-01009

O-RING (K6)

SN: 10025-UP

1шт.

47

04025-00524

PIN

SN: 10025-UP

1шт.

48

07043-01019

PLUG,(A)

SN: 10025-UP

1шт.

49

6693-62-9241

GASKET

SN: 10025-UP

1шт.

Выбрано товаров: 64