Запчасти Komatsu S6D170-1C КОРПУС ШЕСТЕРЕНН. ПЕРЕДАЧИ COVER БЛОК ЦИЛИНДРОВ

Схема запчастей Komatsu S6D170-1C - КОРПУС ШЕСТЕРЕНН. ПЕРЕДАЧИ COVER БЛОК ЦИЛИНДРОВ
FIT
1:1
100%

Артикул

Название

Примечание

Количество

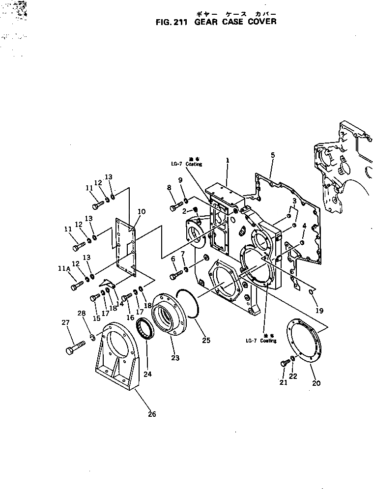
1

6162-23-3211

COVER

SN: 10631-UP

1шт.

|1

0

COVER

SN: 10125-10630

1шт.

2

07043-50108

PLUG

SN: 10125-UP

1шт.

3

07046-11216

PLUG

SN: 10125-UP

4шт.

4

07046-11816

PLUG

SN: 10125-UP

3шт.

5

6162-23-3250

GASKET (K2)

SN: 10125-UP

1шт.

6

01011-31410

BOLT

SN: 10125-UP

6шт.

7

01602-01442

WASHER

SN: 10125-UP

6шт.

8

01010-31285

BOLT

SN: 10125-UP

1шт.

9

01602-01236

WASHER

SN: 10125-UP

2шт.

10

6162-23-3310

PLATE

SN: 10125-UP

1шт.

11

01011-31425

BOLT

SN: 10125-UP

4шт.

11A

01010-31425

BOLT

SN: 10125-UP

2шт.

12

01602-01442

WASHER

SN: 10125-UP

6шт.

13

01640-21426

WASHER

SN: 10125-UP

6шт.

14

6162-23-3350

POINTER

SN: 10125-UP

1шт.

15

01010-30820

BOLT

SN: 10125-UP

2шт.

16

01010-30816

BOLT

SN: 10125-UP

3шт.

17

01602-00825

WASHER

SN: 10125-UP

5шт.

18

01640-20816

WASHER

SN: 10125-UP

5шт.

19

07000-01009

O-RING (K2)

SN: 10125-UP

1шт.

20

6162-23-3230

COVER

SN: 10125-UP

1шт.

21

01010-30816

BOLT

SN: 10125-UP

9шт.

22

01602-00825

WASHER

SN: 10125-UP

9шт.

23

6162-23-9910

TRUNNION

SN: 10125-UP

1шт.

24

6162-23-3510

SEAL¤ FRONT (K2)

SN: 10125-UP

1шт.

25

07000-65175

O-RING (K2)

SN: 10125-UP

1шт.

26

6162-23-3720

SUPPORT

SN: 10125-UP

1шт.

27

01010-31465

BOLT

SN: 10125-UP

6шт.

28

01602-01442

WASHER

SN: 10125-UP

6шт.

Выбрано товаров: 30