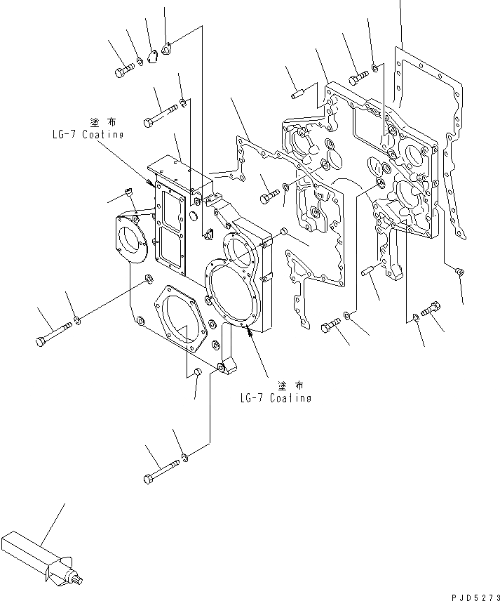
Запчасти Komatsu S6D170-1D-6T КОРПУС ШЕСТЕРЕНН. ПЕРЕДАЧИ И ПЕРЕДН. COVER(№9-) ДВИГАТЕЛЬ

Схема запчастей Komatsu S6D170-1D-6T - КОРПУС ШЕСТЕРЕНН. ПЕРЕДАЧИ И ПЕРЕДН. COVER(№9-) ДВИГАТЕЛЬ
1
2
3
3
4
5
6
7
8
8
8
9
10
11
12
13
14
14
15
15
16
17
18
18
19
20
21
22
23
1
2
3
3
4
5
6
7
8
8
8
9
10
11
12
13
14
14
15
15
16
17
18
18
19
20
21
22
23
FIT
1:1
100%

Артикул

Название

Примечание

Количество

|$2

6162-23-3012

GEAR CASE ASS'Y

SN: 19305-UP

1шт.

1

0

CASE,GEAR

SN: 19305-UP

1шт.

2

07043-50108

PLUG

SN: 19305-UP

2шт.

3

04020-01434

PIN,DOWEL

SN: 19305-UP

2шт.

4

6162-23-3811

GASKET (K2)

SN: 19305-UP

1шт.

5

01010-61450

BOLT

SN: 20681-UP

3шт.

5

0

BOLT

SN: 19305-20680

3шт.

6

01010-61435

BOLT

SN: 20681-UP

4шт.

6

0

BOLT

SN: 19305-20680

4шт.

7

01010-61440

BOLT

SN: 20681-UP

2шт.

7

0

BOLT

SN: 19305-20680

2шт.

8

01643-31445

WASHER

SN: 19305-UP

9шт.

|$15

6162-23-3020

COVER ASS'Y

SN: 19305-UP

1шт.

9

0

COVER,GEAR CASE

SN: 19305-UP

1шт.

10

07043-50108

PLUG

SN: 19305-UP

1шт.

11

07046-11216

PLUG

SN: 19305-UP

4шт.

12

07046-11816

PLUG

SN: 19305-UP

3шт.

13

6162-23-3251

GASKET (K2)

SN: 19305-UP

1шт.

14

01011-61410

BOLT

SN: 20861-UP

6шт.

14

0

BOLT

SN: 19305-20860

6шт.

15

01602-01442

WASHER,SPRING

SN: 19305-UP

6шт.

16

01010-81260

BOLT

SN: 19305-UP

10шт.

17

01010-81285

BOLT

SN: 19305-UP

2шт.

18

01602-01236

WASHER,SPRING

SN: 19305-UP

12шт.

19

6162-23-3960

PLATE

SN: 19305-UP

1шт.

20

01010-80616

BOLT

SN: 19305-UP

2шт.

21

01602-00619

WASHER,SPRING

SN: 19305-UP

2шт.

22

6162-23-3970

GASKET (K2)

SN: 19305-UP

1шт.

23

09920-00150

LIQUID GASKET,LG-7, 150G

SN: 19305-UP

-2шт.

|$2

6162-23-3012

GEAR CASE ASS'Y

SN: 19305-UP

1шт.

1

0

CASE,GEAR

SN: 19305-UP

1шт.

2

07043-50108

PLUG

SN: 19305-UP

2шт.

3

04020-01434

PIN,DOWEL

SN: 19305-UP

2шт.

4

6162-23-3811

GASKET (K2)

SN: 19305-UP

1шт.

5

01010-61450

BOLT

SN: 20681-UP

3шт.

5

0

BOLT

SN: 19305-20680

3шт.

6

01010-61435

BOLT

SN: 20681-UP

4шт.

6

0

BOLT

SN: 19305-20680

4шт.

7

01010-61440

BOLT

SN: 20681-UP

2шт.

7

0

BOLT

SN: 19305-20680

2шт.

8

01643-31445

WASHER

SN: 19305-UP

9шт.

|$15

6162-23-3020

COVER ASS'Y

SN: 19305-UP

1шт.

9

0

COVER,GEAR CASE

SN: 19305-UP

1шт.

10

07043-50108

PLUG

SN: 19305-UP

1шт.

11

07046-11216

PLUG

SN: 19305-UP

4шт.

12

07046-11816

PLUG

SN: 19305-UP

3шт.

13

6162-23-3251

GASKET (K2)

SN: 19305-UP

1шт.

14

01011-61410

BOLT

SN: 20861-UP

6шт.

14

0

BOLT

SN: 19305-20860

6шт.

15

01602-01442

WASHER,SPRING

SN: 19305-UP

6шт.

16

01010-81260

BOLT

SN: 19305-UP

10шт.

17

01010-81285

BOLT

SN: 19305-UP

2шт.

18

01602-01236

WASHER,SPRING

SN: 19305-UP

12шт.

19

6162-23-3960

PLATE

SN: 19305-UP

1шт.

20

01010-80616

BOLT

SN: 19305-UP

2шт.

21

01602-00619

WASHER,SPRING

SN: 19305-UP

2шт.

22

6162-23-3970

GASKET (K2)

SN: 19305-UP

1шт.

23

09920-00150

LIQUID GASKET,LG-7, 150G

SN: 19305-UP

-2шт.

Выбрано товаров: 58