Запчасти Komatsu S6D170-1D-A ПЕРЕДН. COVER(№7-78) ДВИГАТЕЛЬ

Схема запчастей Komatsu S6D170-1D-A - ПЕРЕДН. COVER(№7-78) ДВИГАТЕЛЬ
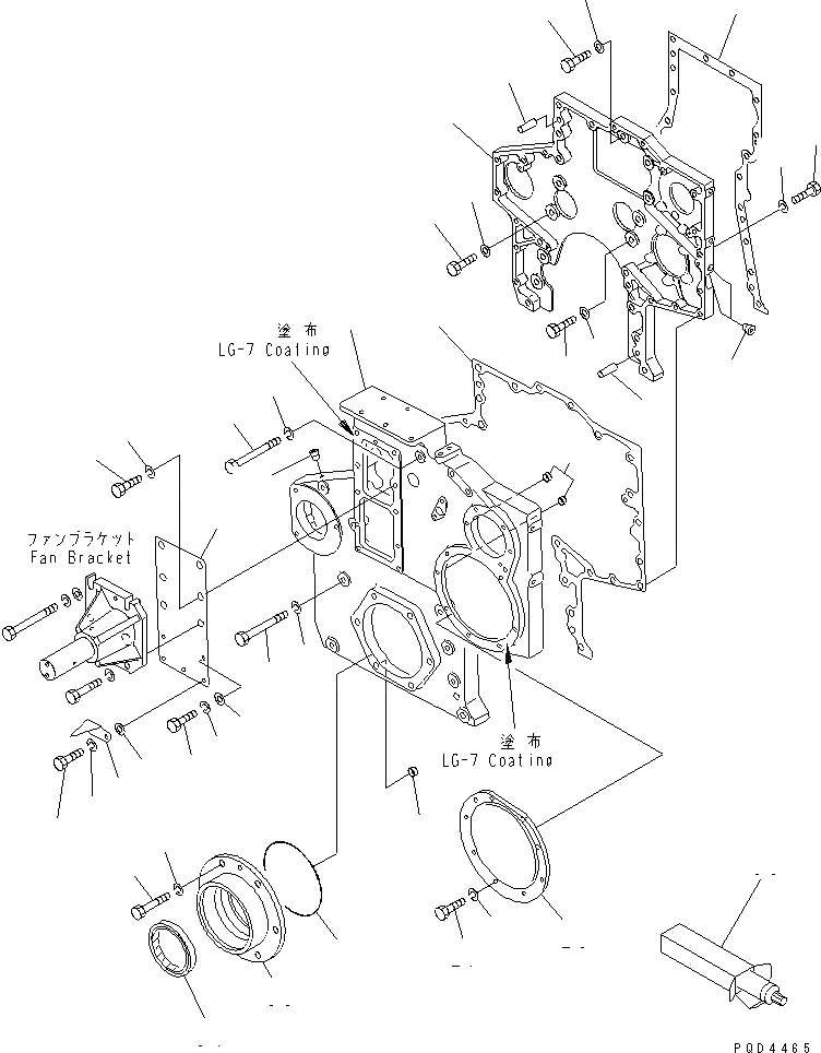
1
2
3
3
4
5
6
7
8
8
8
9
10
11
12
13
14
15
16
17
18
18
19
20
21
22
23
24
24
25
25
26
27
28
29
30
31
32
33
34
35
1
2
3
3
4
5
6
7
8
8
8
9
10
11
12
13
14
15
16
17
18
18
19
20
21
22
23
24
24
25
25
26
27
28
29
30
31
32
33
34
35
FIT
1:1
100%

Артикул

Название

Примечание

Количество

|1

6162-23-3012

GEAR CASE ASS'Y

SN: 15667-@

1шт.

1

0

CASE,GEAR

SN: 15667-@

1шт.

2

07043-50108

PLUG

SN: 15667-@

2шт.

3

04020-01434

PIN,DOWEL

SN: 15667-@

2шт.

4

6162-23-3811

GASKET (K2)

SN: 16087-@

1шт.

|4

0

GASKET

SN: 15667-16086

1шт.

5

01010-61450

BOLT

SN: 15667-@

3шт.

6

01010-61440

BOLT

SN: 15667-@

2шт.

7

01010-61435

BOLT

SN: 15667-@

4шт.

8

01643-61445

WASHER

SN: 15667-@

9шт.

9

6162-23-3020

COVER ASS'Y,FRONT

SN: 15667-@

1шт.

|9

0

COVER,FRONT

SN: 15667-@

1шт.

10

07043-50108

PLUG

SN: 15667-@

1шт.

11

07046-11216

PLUG

SN: 15667-@

4шт.

12

07046-11816

PLUG

SN: 15667-@

3шт.

13

6162-23-3251

GASKET (K2)

SN: 16087-@

1шт.

|13

0

GASKET

SN: 15667-16086

1шт.

14

01011-61410

BOLT

SN: 15667-@

6шт.

15

01602-01442

WASHER,SPRING

SN: 15667-@

6шт.

16

01010-81260

BOLT

SN: 15667-@

10шт.

17

01010-81285

BOLT

SN: 15667-@

2шт.

18

01602-01236

WASHER,SPRING

SN: 15667-@

12шт.

19

6162-23-3370

PLATE

SN: 15667-@

1шт.

20

01010-61430

BOLT

SN: 15667-@

1шт.

21

01010-80825

BOLT

SN: 15667-@

2шт.

22

01010-80820

BOLT

SN: 15667-@

3шт.

23

01602-01442

WASHER,SPRING

SN: 15667-@

1шт.

24

01602-00825

WASHER,SPRING

SN: 15667-@

5шт.

25

01640-20816

WASHER

SN: 15667-@

5шт.

26

6162-23-3230

COVER

SN: 15667-@

1шт.

27

01010-80816

BOLT

SN: 15667-@

9шт.

28

01602-00825

WASHER,SPRING

SN: 15667-@

9шт.

29

6162-23-3350

POINTER

SN: 15667-@

1шт.

30

6162-23-9910

TRUNNION

SN: 15667-@

1шт.

31

07000-65175

O-RING (K2)

SN: 15667-@

1шт.

32

01010-61440

BOLT

SN: 15667-@

6шт.

33

01602-01442

WASHER,SPRING

SN: 15667-@

6шт.

34

6162-23-3510

SEAL¤ FRONT (K2)

SN: 15667-@

1шт.

35

09920-00150

LIQUID GASKET,LG-7¤ 150G

SN: 15667-@

-2шт.

|1

6162-23-3012

GEAR CASE ASS'Y

SN: 15667-@

1шт.

1

0

CASE,GEAR

SN: 15667-@

1шт.

2

07043-50108

PLUG

SN: 15667-@

2шт.

3

04020-01434

PIN,DOWEL

SN: 15667-@

2шт.

4

6162-23-3811

GASKET (K2)

SN: 16087-@

1шт.

|4

0

GASKET

SN: 15667-16086

1шт.

5

01010-61450

BOLT

SN: 15667-@

3шт.

6

01010-61440

BOLT

SN: 15667-@

2шт.

7

01010-61435

BOLT

SN: 15667-@

4шт.

8

01643-61445

WASHER

SN: 15667-@

9шт.

9

6162-23-3020

COVER ASS'Y,FRONT

SN: 15667-@

1шт.

|9

0

COVER,FRONT

SN: 15667-@

1шт.

10

07043-50108

PLUG

SN: 15667-@

1шт.

11

07046-11216

PLUG

SN: 15667-@

4шт.

12

07046-11816

PLUG

SN: 15667-@

3шт.

13

6162-23-3251

GASKET (K2)

SN: 16087-@

1шт.

|13

0

GASKET

SN: 15667-16086

1шт.

14

01011-61410

BOLT

SN: 15667-@

6шт.

15

01602-01442

WASHER,SPRING

SN: 15667-@

6шт.

16

01010-81260

BOLT

SN: 15667-@

10шт.

17

01010-81285

BOLT

SN: 15667-@

2шт.

18

01602-01236

WASHER,SPRING

SN: 15667-@

12шт.

19

6162-23-3370

PLATE

SN: 15667-@

1шт.

20

01010-61430

BOLT

SN: 15667-@

1шт.

21

01010-80825

BOLT

SN: 15667-@

2шт.

22

01010-80820

BOLT

SN: 15667-@

3шт.

23

01602-01442

WASHER,SPRING

SN: 15667-@

1шт.

24

01602-00825

WASHER,SPRING

SN: 15667-@

5шт.

25

01640-20816

WASHER

SN: 15667-@

5шт.

26

6162-23-3230

COVER

SN: 15667-@

1шт.

27

01010-80816

BOLT

SN: 15667-@

9шт.

28

01602-00825

WASHER,SPRING

SN: 15667-@

9шт.

29

6162-23-3350

POINTER

SN: 15667-@

1шт.

30

6162-23-9910

TRUNNION

SN: 15667-@

1шт.

31

07000-65175

O-RING (K2)

SN: 15667-@

1шт.

32

01010-61440

BOLT

SN: 15667-@

6шт.

33

01602-01442

WASHER,SPRING

SN: 15667-@

6шт.

34

6162-23-3510

SEAL¤ FRONT (K2)

SN: 15667-@

1шт.

35

09920-00150

LIQUID GASKET,LG-7¤ 150G

SN: 15667-@

-2шт.

Выбрано товаров: 78