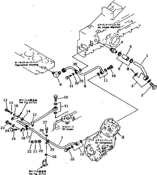
Запчасти Komatsu S6D170-1D ЛИНИЯ КОМПРЕССОРА (/)(№-) АКСЕССУАРЫ

Схема запчастей Komatsu S6D170-1D - ЛИНИЯ КОМПРЕССОРА (/)(№-) АКСЕССУАРЫ
FIT
1:1
100%

Артикул

Название

Примечание

Количество

1

6162-83-6650

TUBE

SN: 10490-UP

1шт.

2

6137-81-3140

BOLT,JOINT

SN: 10490-UP

1шт.

3

6164-91-6220

GASKET (K8)

SN: 13321-UP

2шт.

|3

6164-91-6220

GASKET

SN: 13302-13320

2шт.

|3

0

GASKET (K8)

SN: 10490-13301

2шт.

4

6162-83-6660

NIPPLE

SN: 10490-UP

1шт.

5

6132-11-5860

HOSE

SN: 10490-UP

1шт.

6

07281-00289

CLAMP

SN: 10490-UP

2шт.

7

6162-83-6671

TUBE

SN: 12362-UP

1шт.

8

6162-83-6682

TUBE

SN: 10629-UP

1шт.

9

6162-83-6720

NIPPLE

SN: 10647-UP

1шт.

10

07206-31014

BOLT,JOINT

SN: 12362-UP

3шт.

11

07005-01412

GASKET (K8)

SN: 12362-UP

6шт.

12

6162-13-5660

CLAMP

SN: 12362-UP

1шт.

13

01010-31040

BOLT

SN: 10490-UP

1шт.

14

209-62-11810

SPACER

SN: 12362-UP

1шт.

15

01602-01030

WASHER,SPRING

SN: 10490-UP

1шт.

16

01640-21016

WASHER

SN: 10490-UP

1шт.

17

600-050-2220

CLAMP

SN: 10987-UP

1шт.

18

6689-12-5950

STAY

SN: 10490-UP

1шт.

19

01010-31020

BOLT

SN: 12362-UP

1шт.

20

01580-01008

NUT

SN: 12362-UP

1шт.

21

01602-01030

WASHER,SPRING

SN: 12362-UP

1шт.

22

01640-01016

WASHER

SN: 12362-UP

1шт.

23

01010-31030

BOLT

SN: 10490-UP

1шт.

24

01602-01030

WASHER,SPRING

SN: 10490-UP

1шт.

25

04434-51010

CLIP

SN: 13173-UP

1шт.

26

6136-51-6190

SPACER

SN: 13173-UP

1шт.

27

01010-31035

BOLT

SN: 13173-UP

1шт.

28

01643-31032

WASHER

SN: 13173-UP

1шт.

29

600-050-2210

CLIP

SN: 10629-UP

1шт.

30

6130-12-1961

SPACER

SN: 10629-UP

1шт.

31

01010-30825

BOLT

SN: 10490-UP

1шт.

32

01641-00812

WASHER

SN: 10490-UP

1шт.

Выбрано товаров: 34