Запчасти Komatsu S6D170-1G-6B КАРТЕР МАХОВИКА (МОРОЗОУСТОЙЧИВ. СПЕЦИФИКАЦИЯ)(№7-) ДВИГАТЕЛЬ

Схема запчастей Komatsu S6D170-1G-6B - КАРТЕР МАХОВИКА (МОРОЗОУСТОЙЧИВ. СПЕЦИФИКАЦИЯ)(№7-) ДВИГАТЕЛЬ
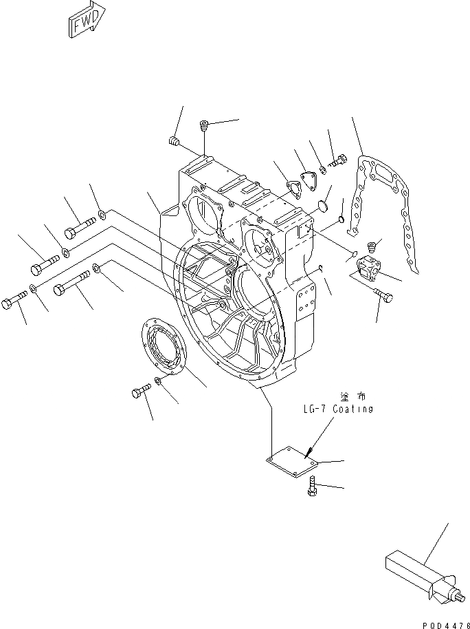
1
2
3
4
5
5
6
7
8
9
10
11
11
11
11
12
13
14
15
16
17
18
19
20
21
22
23
24
25
FIT
1:1
100%

Артикул

Название

Примечание

Количество

1

6162-23-4150

HOUSING,FLYWHEEL

SN: 15667-UP

1шт.

2

07046-11516

PLUG

SN: 15667-UP

8шт.

3

07046-15520

PLUG

SN: 15667-UP

1шт.

4

07046-12016

PLUG

SN: 15667-UP

6шт.

5

07043-00108

PLUG

SN: 15667-UP

11шт.

6

6127-21-4815

GASKET (K2)

SN: 16213-UP

1шт.

6

0

GASKET (K2)

SN: 15667-16212

1шт.

7

01010-61845

BOLT

SN: 20474-UP

4шт.

7

0

BOLT

SN: 15667-20473

4шт.

8

01010-61860

BOLT

SN: 20474-UP

2шт.

8

0

BOLT

SN: 15667-20473

2шт.

9

01010-61855

BOLT

SN: 20474-UP

6шт.

9

0

BOLT

SN: 15667-20473

6шт.

10

01010-61870

BOLT

SN: 20474-UP

2шт.

10

0

BOLT

SN: 15667-20473

2шт.

11

01643-31845

WASHER

SN: 15667-UP

14шт.

12

6162-23-4231

SEAL, REAR (K2)

SN: 15667-UP

1шт.

13

01010-81020

BOLT

SN: 17971-UP

8шт.

13

0

BOLT

SN: 15667-17970

8шт.

14

01641-21016

WASHER

SN: 15667-UP

8шт.

15

6150-21-4730

PLATE

SN: 15667-UP

1шт.

16

6150-21-4741

GASKET (K2)

SN: 15667-UP

1шт.

17

01010-81020

BOLT

SN: 17971-UP

3шт.

17

0

BOLT

SN: 15667-17970

3шт.

18

01602-01030

WASHER,SPRING

SN: 15667-UP

3шт.

19

6162-23-4450

COVER

SN: 15667-UP

1шт.

20

01010-81225

BOLT

SN: 17971-UP

4шт.

20

0

BOLT

SN: 15667-17970

4шт.

21

6162-23-4490

FLANGE

SN: 15667-UP

1шт.

22

07043-00108

PLUG

SN: 15667-UP

1шт.

23

07000-42012

O-RING (K2)

SN: 15667-UP

1шт.

24

01010-81025

BOLT

SN: 17971-UP

2шт.

24

0

BOLT

SN: 15667-17970

2шт.

25

09920-00150

LIQUID GASKET,LG-7, 150G

SN: 15667-UP

-2шт.

Выбрано товаров: 34