Запчасти Komatsu S6D170-1G-A РАСПРЕДВАЛ И ТОЛКАТЕЛЬ КЛАПАНА(№7-78) ДВИГАТЕЛЬ

Схема запчастей Komatsu S6D170-1G-A - РАСПРЕДВАЛ И ТОЛКАТЕЛЬ КЛАПАНА(№7-78) ДВИГАТЕЛЬ
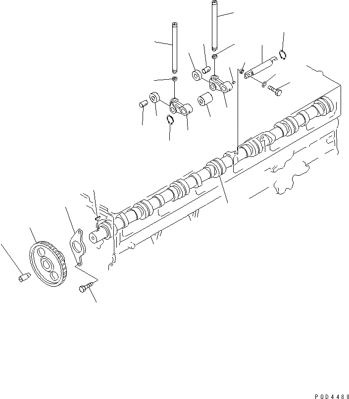
1
2
3
4
5
6
7
7
8
8
9
9
10
10
11
12
13
14
14
15
16
17
18
18
FIT
1:1
100%

Артикул

Название

Примечание

Количество

|1

6162-43-1100

CAMSHAFT ASS'Y

SN: 15667-17480

1шт.

1

0

CAMSHAFT

SN: 15667-@

1шт.

2

04010-00738

KEY

SN: 15667-@

1шт.

3

6162-43-1121

GEAR,CAMSHAFT

SN: 15667-@

1шт.

4

6162-43-1130

PLATE,THRUST

SN: 15667-@

1шт.

5

6162-42-1150

BOLT

SN: 15667-@

2шт.

6

6162-53-1891

SHAFT

SN: 15667-17480

1шт.

|7

6162-43-2021

CAMFOLLOWER SHAFT A.

SN: 15667-@

6шт.

|7

6162-43-2301

CAMFOLLOWER ASS'Y

SN: 15667-@

2шт.

7

0

FOLLOWER,CAM

SN: 15667-@

1шт.

8

0

ROLLER,CAM

SN: 15667-@

1шт.

9

0

PIN,CAMFOLLOWER

SN: 15667-@

1шт.

10

0

SOCKET

SN: 15667-@

1шт.

11

6162-43-2320

COLLAR

SN: 15667-@

1шт.

|12

6162-43-2401

SHAFT ASS'Y

SN: 15667-@

1шт.

12

0

SHAFT

SN: 15667-@

1шт.

13

6162-43-2420

PIN,DOWEL

SN: 15667-@

1шт.

14

04064-02512

RING,SNAP

SN: 15667-@

2шт.

15

6162-43-2450

BOLT

SN: 15667-@

12шт.

16

01643-31232

WASHER

SN: 15667-@

12шт.

17

6162-43-2430

RING,DOWEL

SN: 15667-@

12шт.

18

6162-43-3101

ROD,PUSH

SN: 15667-@

12шт.

Выбрано товаров: 22