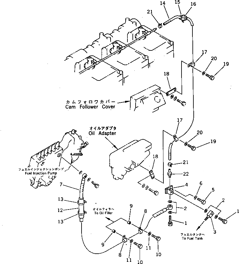
Запчасти Komatsu S6D170-1L-W ВОЗВРАТ ТОПЛИВА ДВИГАТЕЛЬ

Схема запчастей Komatsu S6D170-1L-W - ВОЗВРАТ ТОПЛИВА ДВИГАТЕЛЬ
FIT
1:1
100%

Артикул

Название

Примечание

Количество

1

07206-31014

BOLT,JOINT

SN: 14674-UP

2шт.

2

07005-01412

GASKET (K2)

SN: 14674-UP

4шт.

3

6128-71-1932

JOINT

SN: 14674-UP

1шт.

4

6162-73-5421

JOINT,FUEL

SN: 14674-UP

1шт.

5

01010-31020

BOLT

SN: 14674-UP

1шт.

6

01602-01030

WASHER,SPRING

SN: 14674-UP

1шт.

7

07271-11495

HOSE,FUEL

SN: 14674-UP

1шт.

8

04434-51810

CLIP

SN: 14674-UP

2шт.

9

144-874-7470

BOSS

SN: 14674-UP

2шт.

10

01010-31055

BOLT

SN: 14674-UP

2шт.

11

01643-31032

WASHER

SN: 14674-UP

2шт.

12

205-62-72140

COVER

SN: 14674-UP

1шт.

13

08034-00519

BAND

SN: 14674-UP

2шт.

14

07270-40411

TUBE

SN: 14674-UP

1шт.

15

6162-73-8820

PAD

SN: 14674-UP

1шт.

16

08034-00519

BAND

SN: 14674-UP

1шт.

17

04434-50810

CLIP

SN: 14674-UP

2шт.

18

426-01-11310

BRACKET

SN: 14674-UP

2шт.

19

01010-31016

BOLT

SN: 14674-UP

2шт.

20

01643-31032

WASHER

SN: 14674-UP

2шт.

21

07285-00080

CLIP

SN: 14674-UP

2шт.

22

07209-01040

NIPPLE

SN: 14674-UP

1шт.

Выбрано товаров: 22