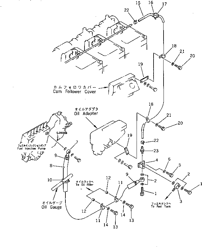
Запчасти Komatsu S6D170-1L-W ВОЗВРАТ ТОПЛИВА (МОРОЗОУСТОЙЧИВ. СПЕЦИФИКАЦИЯ) ДВИГАТЕЛЬ

Схема запчастей Komatsu S6D170-1L-W - ВОЗВРАТ ТОПЛИВА (МОРОЗОУСТОЙЧИВ. СПЕЦИФИКАЦИЯ) ДВИГАТЕЛЬ
FIT
1:1
100%

Артикул

Название

Примечание

Количество

1

07206-31014

BOLT,JOINT

SN: 15295-UP

2шт.

2

07005-01412

GASKET (K2)

SN: 15295-UP

4шт.

3

6128-71-1932

JOINT

SN: 15295-UP

1шт.

4

6162-73-5421

JOINT,FUEL

SN: 15295-UP

1шт.

5

01010-31020

BOLT

SN: 15295-UP

1шт.

6

01602-01030

WASHER,SPRING

SN: 15295-UP

1шт.

7

6128-71-6930

HOSE,FUEL

SN: 15295-UP

1шт.

8

6162-83-9170

COVER

SN: 15295-UP

1шт.

9

07281-00359

CLAMP

SN: 15295-UP

2шт.

10

07281-00489

CLAMP

SN: 15295-UP

1шт.

11

04434-52511

CLIP

SN: 15295-UP

2шт.

12

144-874-7470

BOSS

SN: 15295-UP

2шт.

13

01010-31055

BOLT

SN: 15295-UP

2шт.

14

01643-31032

WASHER

SN: 15295-UP

2шт.

15

07270-50411

TUBE

SN: 15295-UP

1шт.

16

6162-73-8820

PAD

SN: 15295-UP

1шт.

17

08034-00519

BAND

SN: 15295-UP

1шт.

18

04434-50810

CLIP

SN: 15295-UP

2шт.

19

426-01-11310

BRACKET

SN: 15295-UP

2шт.

20

01010-31016

BOLT

SN: 15295-UP

2шт.

21

01643-31032

WASHER

SN: 15295-UP

2шт.

22

07285-00080

CLIP

SN: 15295-UP

2шт.

23

07209-01040

NIPPLE

SN: 15295-UP

1шт.

Выбрано товаров: 23