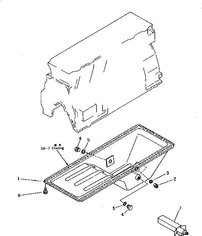
Запчасти Komatsu S6D95L-1B1 МАСЛЯНЫЙ ПОДДОН(№9-9) БЛОК ЦИЛИНДРОВ

Схема запчастей Komatsu S6D95L-1B1 - МАСЛЯНЫЙ ПОДДОН(№9-9) БЛОК ЦИЛИНДРОВ
FIT
1:1
100%

Артикул

Название

Примечание

Количество

1

6206-21-5170

PAN,OIL

SN: 59035-@

1шт.

2

6204-21-5180

PLUG,DRAIN

SN: 59035-@

1шт.

3

07005-02216

GASKET (K2)

SN: 59035-@

1шт.

4

6672-12-6290

PLUG

SN: 59035-@

2шт.

5

07005-01612

GASKET (K2)

SN: 59035-@

2шт.

6

01435-20814

BOLT

SN: 59035-@

30шт.

7

09920-00150

LIQUID GASKET,LG-7¤ 150G

SN: 59035-61109

-2шт.

Выбрано товаров: 7