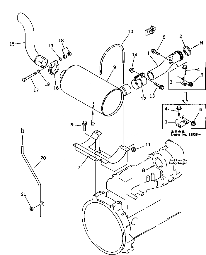
Запчасти Komatsu S6D95L-1C ГЛУШИТЕЛЬ(№9-7) ГОЛОВКА ЦИЛИНДРОВ

Схема запчастей Komatsu S6D95L-1C - ГЛУШИТЕЛЬ(№9-7) ГОЛОВКА ЦИЛИНДРОВ
FIT
1:1
100%

Артикул

Название

Примечание

Количество

1

6207-11-5623

PIPE

SN: 19041-52744

1шт.

|1

0

PIPE

SN: 13939-19040

1шт.

|1

6207-11-5621

PIPE

SN: 10001-13939

1шт.

2

6207-11-5380

RING,SEAL

SN: 10001-@

1шт.

3

6207-11-5990

BRACKET

SN: 13939-@

1шт.

|3

6207-11-5980

BRACKET

SN: 10001-13938

1шт.

4

01435-01020

BOLT

SN: 13939-@

2шт.

|4

01435-01016

BOLT

SN: 10001-13938

1шт.

5

01435-01020

BOLT

SN: 13939-@

1шт.

|5

01435-20816

BOLT

SN: 10001-13938

1шт.

6

01584-01008

NUT

SN: 13939-@

1шт.

|6

01584-00806

NUT

SN: 10001-13938

1шт.

7

6207-11-5522

BRACKET

SN: 28779-@

1шт.

|7

0

BRACKET

SN: 13149-28778

1шт.

|$$15

(6207-11-5522{01435-01025(4))}

-1шт.

8

01435-01025

BOLT

SN: 28779-@

4шт.

|8

01435-01020

BOLT

SN: 10001-28778

4шт.

9

6207-11-5221

MUFFLER

SN: 28779-@

1шт.

|9

0

MUFFLER

SN: 10001-28778

1шт.

10

6206-11-5980

U-BOLT

SN: 10001-@

2шт.

11

01584-00806

NUT

SN: 10001-@

4шт.

12

6206-11-5910

CLAMP

SN: 10001-@

1шт.

13

01435-01235

BOLT

SN: 10001-@

2шт.

14

01584-01210

NUT

SN: 10001-@

2шт.

15

6207-11-5710

PIPE,EXHAUST

SN: 10001-@

1шт.

16

6206-11-5920

CLAMP

SN: 10001-@

1шт.

17

01010-31080

BOLT

SN: 10001-@

1шт.

18

01580-21008

NUT

SN: 10001-@

2шт.

19

01640-21016

WASHER

SN: 10001-@

2шт.

20

6207-11-5450

TUBE

SN: 13149-@

1шт.

21

144-874-7470

BOSS

SN: 13149-@

1шт.

Выбрано товаров: 31