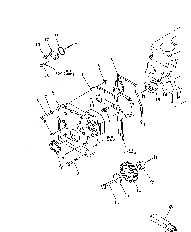
Запчасти Komatsu S6D95L-1C ПЕРЕДН. КРЫШКАAND ПРИВОД БЛОК ЦИЛИНДРОВ

Схема запчастей Komatsu S6D95L-1C - ПЕРЕДН. КРЫШКАAND ПРИВОД БЛОК ЦИЛИНДРОВ
FIT
1:1
100%

Артикул

Название

Примечание

Количество

1

6206-21-3210

PLATE,FRONT

SN: 10001-UP

1шт.

2

6206-21-3830

GASKET (K2)

SN: 36452-UP

1шт.

|2

0

GASKET (K2)

SN: 10001-36451

1шт.

3

01435-20816

BOLT

SN: 10001-UP

2шт.

4

6204-21-3112

COVER,FRONT

SN: 56825-UP

1шт.

|4

0

COVER,FRONT

SN: 34647-56824

1шт.

|4

0

COVER,FRONT

SN: 10001-34646

1шт.

5

6204-21-3850

POINTER

SN: 10001-UP

1шт.

6

01435-20855

BOLT

SN: 10001-UP

13шт.

7

01641-20812

WASHER

SN: 10001-UP

1шт.

8

01584-00806

NUT

SN: 10001-UP

2шт.

9

01435-20870

BOLT

SN: 10001-UP

2шт.

10

6204-21-3510

SEAL¤ FRONT (K2)

SN: 10001-UP

1шт.

|11

6206-31-6301

IDLER GEAR ASS'Y

SN: 28779-UP

1шт.

|11

0

IDLER GEAR ASS'Y

SN: 10001-28778

1шт.

|$$16

(6206-31-6301{6204-31-6331)}

-1шт.

11

0

GEAR,IDLER

SN: 10001-UP

1шт.

12

6204-31-6341

BUSHING

SN: 28779-UP

1шт.

|12

6204-31-6340

BUSHING

SN: 10001-28778

1шт.

13

6204-31-6331

SHAFT

SN: 28779-UP

1шт.

|13

6204-31-6330

SHAFT

SN: 10001-28778

1шт.

14

04025-00512

PIN,SPRING

SN: 10001-UP

1шт.

15

6204-31-6350

WASHER

SN: 10001-UP

1шт.

16

01435-01270

BOLT

SN: 10001-UP

1шт.

17

6144-81-5151

COVER

SN: 10001-UP

1шт.

18

07000-03050

O-RING (K2)

SN: 10001-UP

1шт.

19

01435-20616

BOLT

SN: 10001-UP

2шт.

20

09920-00150

LIQUID GASKET,LG-7¤ 150G

SN: 10001-UP

-2шт.

Выбрано товаров: 28