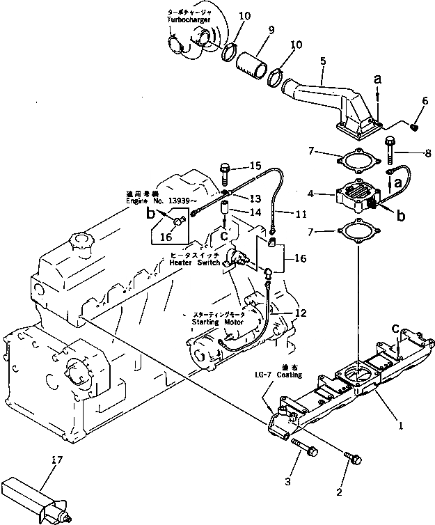
Запчасти Komatsu S6D95L-1C ТРУБОПРОВОД ВПУСКА ВОЗДУХА И СОЕДИН-Е(№-) ГОЛОВКА ЦИЛИНДРОВ

Схема запчастей Komatsu S6D95L-1C - ТРУБОПРОВОД ВПУСКА ВОЗДУХА И СОЕДИН-Е(№-) ГОЛОВКА ЦИЛИНДРОВ
FIT
1:1
100%

Артикул

Название

Примечание

Количество

1

6206-11-4110

MANIFOLD,INTAKE

SN: 10001-43225

1шт.

2

01435-21030

BOLT

SN: 10001-43225

11шт.

3

01435-21085

BOLT

SN: 10001-43225

1шт.

4

600-815-2341

HEATER,RIBBON

SN: 10001-@

1шт.

5

6207-11-4310

CONNECTOR,AIR

SN: 10001-@

1шт.

6

07043-50108

PLUG

SN: 15840-@

1шт.

|6

07043-50108

PLUG

SN: 10001-15839

2шт.

7

6136-11-4820

GASKET (K1)

SN: 10001-@

2шт.

8

01435-21065

BOLT

SN: 15840-@

4шт.

|8

01435-21070

BOLT

SN: 10001-15839

4шт.

9

6131-11-4370

HOSE

SN: 10001-@

1шт.

10

07281-00709

CLAMP

SN: 10001-@

2шт.

11

6206-81-4720

WIRE¤ 480MM

SN: 10001-@

1шт.

12

6206-81-4730

WIRE¤ 380MM

SN: 10001-@

1шт.

13

08036-10814

CLIP

SN: 10001-@

1шт.

14

6131-12-5920

SPACER

SN: 19680-@

1шт.

|14

6144-11-5630

SPACER

SN: 10001-19679

1шт.

15

01435-21025

BOLT

SN: 19680-@

1шт.

|15

01435-21045

BOLT

SN: 10001-19679

1шт.

16

08038-00518

CAP

SN: 13939-@

3шт.

|16

08038-00518

CAP

SN: 10001-13938

2шт.

17

09920-00150

LIQUID GASKET,LG-7¤ 150G

SN: 10001-@

-2шт.

Выбрано товаров: 22