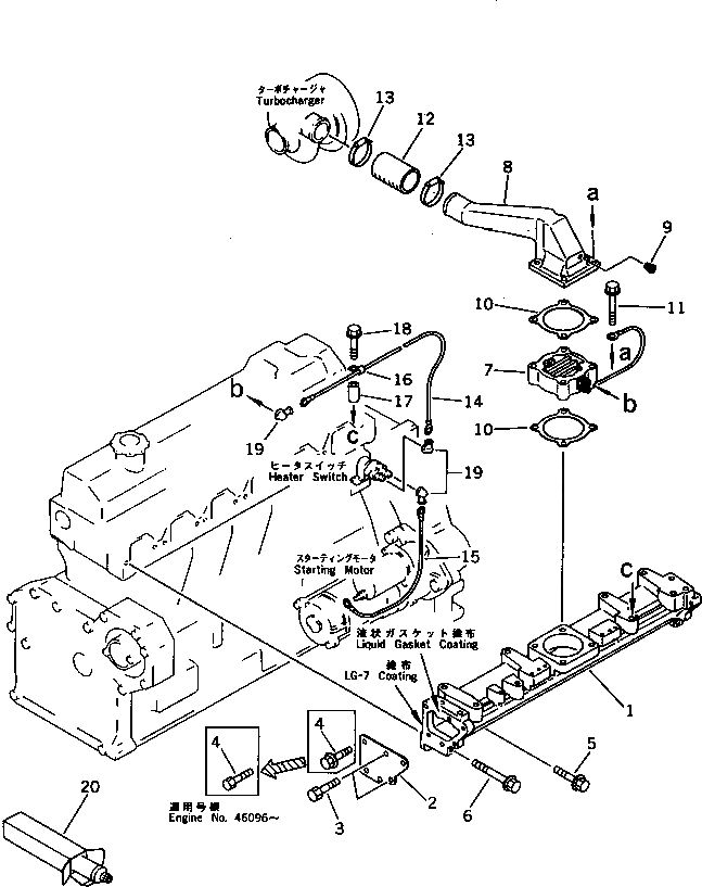
Запчасти Komatsu S6D95L-1C ТРУБОПРОВОД ВПУСКА ВОЗДУХА И СОЕДИН-Е(№-) ГОЛОВКА ЦИЛИНДРОВ

Схема запчастей Komatsu S6D95L-1C - ТРУБОПРОВОД ВПУСКА ВОЗДУХА И СОЕДИН-Е(№-) ГОЛОВКА ЦИЛИНДРОВ
FIT
1:1
100%

Артикул

Название

Примечание

Количество

|1

6206-11-4170

INTAKE MANIFOLD A.

SN: 43226-UP

1шт.

1

6206-11-4140

MANIFOLD,INTAKE

SN: 43226-UP

1шт.

2

6206-11-4150

PLATE

SN: 43226-UP

2шт.

3

6206-11-4160

BOLT

SN: 43226-UP

2шт.

4

6206-11-4160

BOLT

SN: 46096-UP

10шт.

|4

01435-00814

BOLT

SN: 43226-46095

10шт.

5

01435-21030

BOLT

SN: 43226-UP

10шт.

6

01435-21085

BOLT

SN: 43226-UP

2шт.

7

600-815-2341

HEATER,RIBBON

SN: 10001-UP

1шт.

8

6207-11-4310

CONNECTOR,AIR

SN: 10001-UP

1шт.

9

07043-50108

PLUG

SN: 15840-UP

1шт.

10

6136-11-4820

GASKET (K1)

SN: 10001-UP

2шт.

11

01435-21065

BOLT

SN: 15840-UP

4шт.

12

6207-11-4370

HOSE

SN: 15572-UP

1шт.

|12

6131-11-4370

HOSE

SN: 10001-15571

1шт.

13

07281-00709

CLAMP

SN: 10001-UP

2шт.

14

6206-81-4720

WIRE¤ 480MM

SN: 10001-UP

1шт.

15

6206-81-4730

WIRE¤ 380MM

SN: 10001-UP

1шт.

16

08036-10814

CLIP

SN: 10001-UP

1шт.

17

6131-12-5920

SPACER

SN: 19680-UP

1шт.

18

01435-21025

BOLT

SN: 19680-UP

1шт.

19

08038-00518

CAP

SN: 13939-UP

3шт.

20

09920-00150

LIQUID GASKET,LG-7¤ 150G

SN: 10001-UP

1шт.

Выбрано товаров: 23