Запчасти Komatsu S6D95L-1C МАСЛЯНЫЙ ПОДДОН (С ДАТЧИК УР-НЯ МАСЛА) БЛОК ЦИЛИНДРОВ

Схема запчастей Komatsu S6D95L-1C - МАСЛЯНЫЙ ПОДДОН (С ДАТЧИК УР-НЯ МАСЛА) БЛОК ЦИЛИНДРОВ
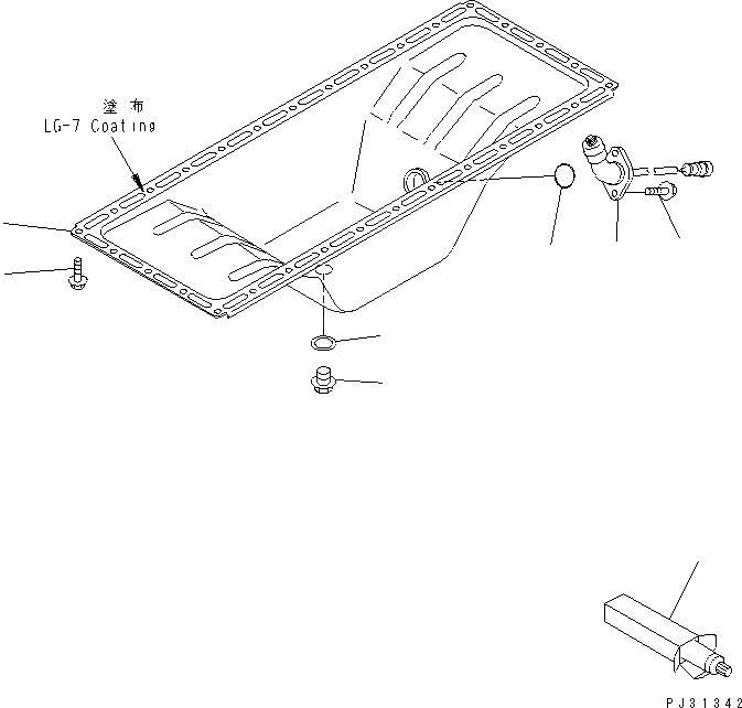
1
2
3
4
5
6
7
8
FIT
1:1
100%

Артикул

Название

Примечание

Количество

1

6206-21-5120

PAN,OIL

SN: 13939-UP

1шт.

1

0

PAN,OIL

SN: 10001-13938

1шт.

2

6204-21-5180

PLUG,DRAIN

SN: 37258-UP

1шт.

2

0

PLUG,DRAIN

SN: 10001-37257

1шт.

3

07005-02216

GASKET (K2)

SN: 43226-UP

1шт.

3

0

GASKET (K2)

SN: 10001-43225

1шт.

4

203-06-41160

SENSOR,OIL LEVEL

SN: 10001-UP

1шт.

5

07000-63030

O-RING (K2)

SN: 10001-UP

1шт.

6

01435-20816

BOLT

SN: 10001-UP

2шт.

7

01435-00814

BOLT

SN: 49644-UP

30шт.

7

01435-20814

BOLT

SN: 10001-46943

30шт.

8

09920-00150

LIQUID GASKET,LG-7, 150G

SN: 10001-UP

-2шт.

Выбрано товаров: 12