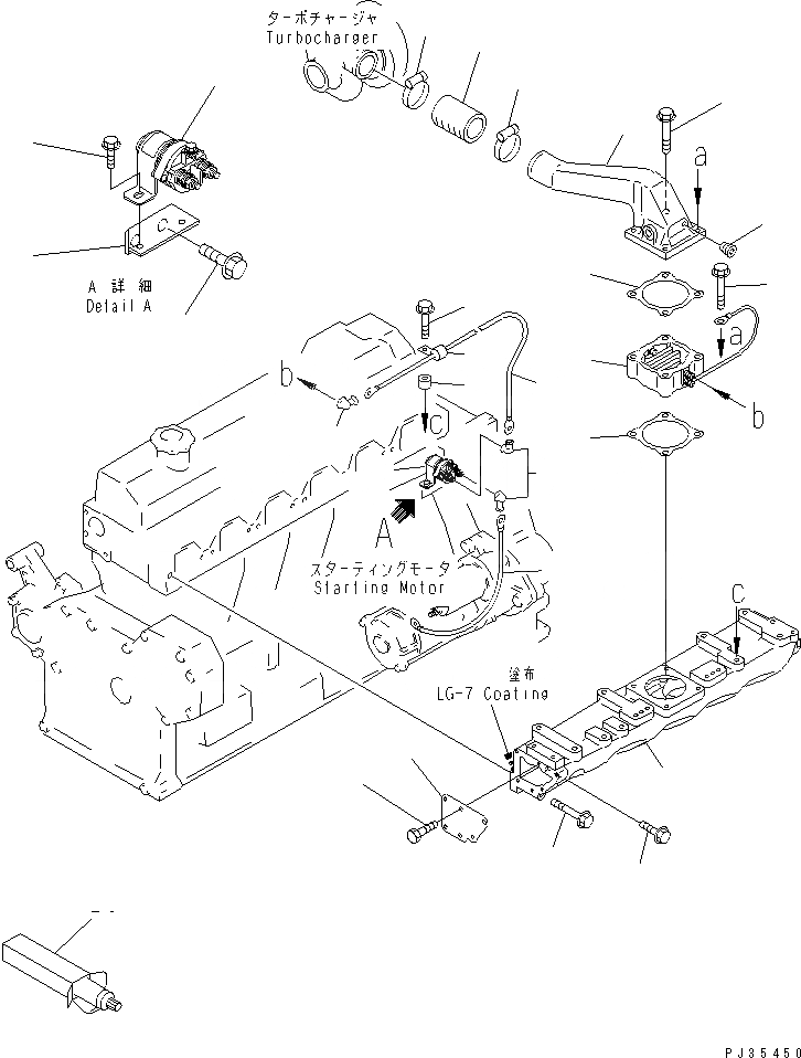
Запчасти Komatsu S6D95L-1D ТРУБОПРОВОД ВПУСКА ВОЗДУХА И СОЕДИН-Е(№87-) ГОЛОВКА ЦИЛИНДРОВ

Схема запчастей Komatsu S6D95L-1D - ТРУБОПРОВОД ВПУСКА ВОЗДУХА И СОЕДИН-Е(№87-) ГОЛОВКА ЦИЛИНДРОВ
1
2
3
4
5
6
7
8
9
9
10
10
11
12
12
13
14
15
15
16
17
18
19
20
21
22
22
23
FIT
1:1
100%

Артикул

Название

Примечание

Количество

|$0

6206-11-4170

INTAKE MANIFOLD A.

SN: 42687-UP

1шт.

1

6206-11-4140

MANIFOLD,AIR INTAKE

SN: 42687-UP

1шт.

2

6206-11-4150

PLATE

SN: 42687-UP

2шт.

3

6206-11-4160

BOLT

SN: 42687-UP

12шт.

4

01435-21030

BOLT

SN: 42687-UP

10шт.

5

01435-21085

BOLT

SN: 42687-UP

2шт.

6

600-815-2341

HEATER,RIBBON

SN: 15060-UP

1шт.

7

6207-11-4330

CONNECTOR,AIR

SN: 15060-UP

1шт.

8

07043-50108

PLUG

SN: 15060-UP

1шт.

9

6136-11-4820

GASKET (K1)

SN: 15060-UP

2шт.

10

01435-21065

BOLT

SN: 15790-UP

4шт.

11

6207-11-4370

HOSE

SN: 15060-UP

1шт.

12

07281-00709

CLAMP

SN: 15060-UP

2шт.

13

6206-81-5510

BRACKET

SN: 15060-UP

1шт.

14

01435-21020

BOLT

SN: 15060-UP

2шт.

15

600-815-2170

SWITCH

SN: 15060-UP

1шт.

16

01435-20612

BOLT

SN: 15060-UP

2шт.

17

6206-81-4720

WIRE, 480MM

SN: 15060-UP

1шт.

18

6206-81-4730

WIRE, 380MM

SN: 15060-UP

1шт.

19

08036-10814

CLIP

SN: 15060-UP

1шт.

20

6131-12-5920

SPACER

SN: 19941-UP

1шт.

21

01435-21025

BOLT

SN: 19941-UP

1шт.

22

08038-00519

CAP

SN: 15790-UP

3шт.

23

09920-00150

LIQUID GASKET,LG-7, 150G

SN: 15060-UP

-2шт.

Выбрано товаров: 24