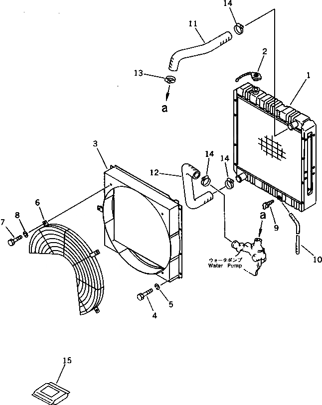
Запчасти Komatsu S6D95L-1G-B РАДИАТОР И ТРУБЫ(№8-) СИСТЕМА ОХЛАЖДЕНИЯ

Схема запчастей Komatsu S6D95L-1G-B - РАДИАТОР И ТРУБЫ(№8-) СИСТЕМА ОХЛАЖДЕНИЯ
FIT
1:1
100%

Артикул

Название

Примечание

Количество

|$0

6207-61-2900

RADIATOR ASS'Y

SN: 24841-UP

1шт.

1

6992-62-1720

RADIATOR

SN: 24841-UP

1шт.

2

6992-62-1790

CAP

SN: 24841-UP

1шт.

3

TR11615444101

SHROUD

SN: 24841-UP

1шт.

4

01010-50816

BOLT

SN: 24841-UP

8шт.

5

01602-20825

WASHER,SPRING

SN: 24841-UP

8шт.

6

TR11615484210

NET

SN: 24841-UP

1шт.

7

01010-50816

BOLT

SN: 22842-UP

4шт.

8

01602-20825

WASHER,SPRING

SN: 22842-UP

4шт.

9

6992-62-1670

VALVE

SN: 24841-UP

1шт.

10

6993-61-9770

TUBE

SN: 24841-UP

1шт.

11

6207-61-9410

HOSE

SN: 24841-UP

1шт.

12

6207-61-9310

HOSE

SN: 24841-UP

1шт.

13

07281-00489

CLAMP

SN: 22842-UP

1шт.

14

07281-00609

CLAMP

SN: 22842-UP

3шт.

15

600-411-1110

INHIBITOR,(EXCEPT JAPAN)

SN: 22842-UP

2шт.

Выбрано товаров: 16