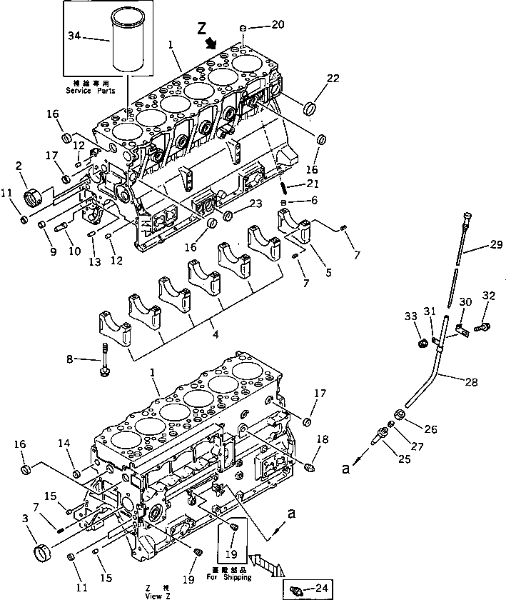
Запчасти Komatsu S6D95L-1GG БЛОК ЦИЛИНДРОВ БЛОК ЦИЛИНДРОВ

Схема запчастей Komatsu S6D95L-1GG - БЛОК ЦИЛИНДРОВ БЛОК ЦИЛИНДРОВ
FIT
1:1
100%

Артикул

Название

Примечание

Количество

|1

6207-21-1102

CYLINDER BLOCK ASS'Y

SN: 58644-UP

1шт.

1

0

BLOCK,CYLINDER

SN: 58644-UP

1шт.

2

6204-21-1410

BUSHING,CAMSHAFT

SN: 58644-UP

1шт.

3

6206-21-1420

BUSHING,CAMSHAFT

SN: 58644-UP

3шт.

4

0

CAP,MAIN METAL¤ NO.1¤2¤3¤4¤5¤6

SN: 58644-UP

6шт.

5

0

CAP,MAIN METAL¤ NO.7

SN: 58644-UP

1шт.

6

6141-21-1530

RING,DOWEL

SN: 58644-UP

2шт.

7

04025-00408

PIN,SPRING

SN: 58644-UP

6шт.

8

6204-21-1610

BOLT,MAIN CAP

SN: 58644-UP

14шт.

9

6204-51-1711

BUSHING,OIL PUMP

SN: 58644-UP

1шт.

10

6204-51-1620

SHAFT,OIL PUMP

SN: 58644-UP

1шт.

11

07046-41810

PLUG

SN: 58644-UP

4шт.

12

04020-00820

PIN,DOWEL

SN: 58644-UP

2шт.

13

6136-52-1620

PIN

SN: 58644-UP

1шт.

14

07046-42216

PLUG

SN: 58644-UP

1шт.

15

04020-01228

PIN,DOWEL

SN: 58644-UP

2шт.

16

07046-43016

PLUG

SN: 58644-UP

9шт.

17

07046-42516

PLUG

SN: 58644-UP

7шт.

18

07042-10312

PLUG

SN: 58644-UP

1шт.

19

07043-50108

PLUG

SN: 58644-UP

5шт.

20

6140-21-1130

BUSHING,DOWEL

SN: 58644-UP

2шт.

21

6207-21-1190

PIN

SN: 58644-UP

6шт.

22

07046-44016

PLUG

SN: 58644-UP

1шт.

23

07046-23016

PLUG

SN: 58644-UP

1шт.

24

08073-00505

SWITCH

SN: 58644-UP

1шт.

25

6204-21-5510

GUIDE,BASE

SN: 58644-UP

1шт.

26

6150-21-5930

NUT

SN: 58644-UP

1шт.

27

6150-21-5920

COLLAR

SN: 58644-UP

1шт.

28

6206-21-5420

GUIDE,OIL GAUGE

SN: 58644-UP

1шт.

29

6207-21-5314

GAUGE,OIL

SN: 80273-UP

1шт.

|29

0

GAUGE,OIL

SN: 58644-80272

1шт.

30

6136-71-5730

BRACKET

SN: 58644-UP

1шт.

31

6206-21-5510

CLIP

SN: 58644-UP

1шт.

32

01435-20816

BOLT

SN: 58644-UP

1шт.

33

01584-00806

NUT

SN: 58644-UP

1шт.

34

6207-21-2110

LINER (MARK A),CYLINDER

SN: 58644-UP

-2шт.

|34

6207-21-2120

LINER (MARK B),CYLINDER

SN: 58644-UP

-2шт.

Выбрано товаров: 37