Запчасти Komatsu S6D95L-1JJ ВОЗДУХООЧИСТИТЕЛЬ И СОЕДИН-Е (ОДИНОЧН. ЭЛЕМЕНТ ТИП)(№-87) ГОЛОВКА ЦИЛИНДРОВ

Схема запчастей Komatsu S6D95L-1JJ - ВОЗДУХООЧИСТИТЕЛЬ И СОЕДИН-Е (ОДИНОЧН. ЭЛЕМЕНТ ТИП)(№-87) ГОЛОВКА ЦИЛИНДРОВ
FIT
1:1
100%

Артикул

Название

Примечание

Количество

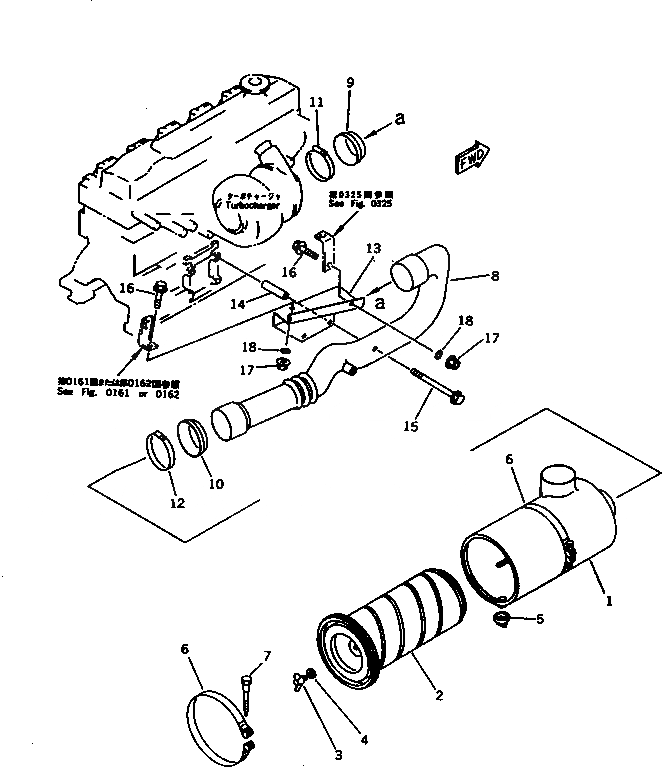
1

6207-81-7210

BODY

SN: 35360-@

1шт.

|$1

600-181-6540

ELEMENT ASS'Y

SN: 35360-@

1шт.

2

0

ELEMENT

SN: 35360-@

1шт.

3

600-181-6570

NUT,WING

SN: 35360-@

1шт.

4

600-181-6580

WASHER,SEAL

SN: 35360-@

1шт.

5

600-181-6590

VALVE

SN: 35360-@

1шт.

6

6207-81-7190

BAND

SN: 35360-@

2шт.

6

6110-21-6530

PIN

SN: 35360-@

2шт.

6

6110-21-6540

PIN, WITH THREAD

SN: 35360-@

2шт.

7

6110-23-6520

BOLT

SN: 35360-@

2шт.

8

6207-11-4881

AIR DUCT ASS'Y

SN: 35360-82575

1шт.

9

6207-11-4990

INSULATOR (K1)

SN: 48356-82575

1шт.

9

6207-11-4990

INSULATOR

SN: 35360-48355

1шт.

10

6207-11-4980

INSULATOR (K1)

SN: 48356-82575

1шт.

10

6207-11-4980

INSULATOR

SN: 35360-48355

1шт.

11

20D-09-11130

CLAMP

SN: 35360-@

1шт.

12

207-09-11120

CLAMP

SN: 35360-82575

1шт.

13

6207-11-4910

PLATE

SN: 35360-@

1шт.

14

6136-11-5120

SPACER

SN: 35360-@

2шт.

15

01436-01005

BOLT

SN: 48356-@

2шт.

15

0

BOLT

SN: 35360-48355

2шт.

16

01435-20820

BOLT

SN: 35360-@

2шт.

17

01594-00807

NUT

SN: 66034-@

2шт.

17

0

NUT

SN: 35360-66033

2шт.

18

6201-81-6560

SPACER

SN: 35360-@

2шт.

19

08670-12001

INDICATOR,DUST (NOT SHOWN)

SN: (45001)-@

1шт.

20

09637-00661

PLATE, INSTRUCTION,(NOT SHOWN)

SN: (45001)-@

1шт.

Выбрано товаров: 27