Запчасти Komatsu S6D95L-1U-L МАСЛЯНЫЙ ПОДДОН БЛОК ЦИЛИНДРОВ

Схема запчастей Komatsu S6D95L-1U-L - МАСЛЯНЫЙ ПОДДОН БЛОК ЦИЛИНДРОВ
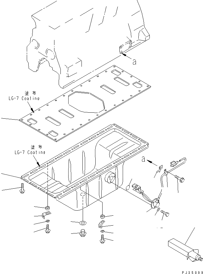
1
2
3
4
5
6
6
7
7
8
8
9
9
10
11
12
13
14
15
16
17
FIT
1:1
100%

Артикул

Название

Примечание

Количество

1

6209-21-5110

PAN,OIL

SN: 35360-UP

1шт.

2

6206-21-5150

PLATE,UNDER

SN: 48356-UP

1шт.

3

6204-21-5180

PLUG,DRAIN

SN: 35360-UP

1шт.

4

07005-02216

GASKET (K2)

SN: 35360-UP

1шт.

5

01435-00816

BOLT

SN: 35360-UP

28шт.

6

6144-51-6150

BRACKET

SN: 35360-UP

2шт.

7

6124-81-4290

SPACER

SN: 35360-UP

2шт.

8

01435-00830

BOLT

SN: 35360-UP

2шт.

9

01643-30823

WASHER

SN: 35360-UP

2шт.

10

7861-92-4210

SENSOR,OIL LEVEL

SN: 35360-UP

1шт.

11

7861-91-4220

O-RING

SN: 35360-UP

1шт.

12

01010-30612

BOLT

SN: 52569-UP

3шт.

|12

0

BOLT

SN: 35360-52568

3шт.

13

01641-00608

WASHER

SN: 35360-UP

3шт.

14

08036-10614

CLIP

SN: 35360-UP

1шт.

15

08053-01512

CLIP

SN: 35360-UP

1шт.

16

01435-21016

BOLT

SN: 35360-UP

1шт.

17

09920-00150

LIQUID GASKET,LG-7¤ 150G

SN: 35360-UP

-2шт.

Выбрано товаров: 18