Запчасти Komatsu SA12V140-1A-A МАСЛЯНЫЙ ПОДДОН И ВСАСЫВАЮЩИЙ ПАТРУБОК(№-79) ДВИГАТЕЛЬ

Схема запчастей Komatsu SA12V140-1A-A - МАСЛЯНЫЙ ПОДДОН И ВСАСЫВАЮЩИЙ ПАТРУБОК(№-79) ДВИГАТЕЛЬ
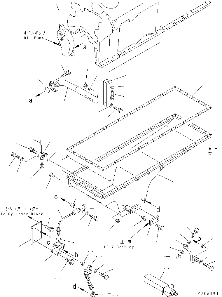
1
2
3
4
4
5
6
7
8
9
10
11
12
13
14
15
16
17
18
19
20
20
21
22
22
22
23
24
25
26
27
28
29
30
31
32
33
34
35
36
37
37
37
38
38
38
38
38
38
39
1
2
3
4
4
5
6
7
8
9
10
11
12
13
14
15
16
17
18
19
20
20
21
22
22
22
23
24
25
26
27
28
29
30
31
32
33
34
35
36
37
37
37
38
38
38
38
38
38
39
FIT
1:1
100%

Артикул

Название

Примечание

Количество

1

6215-21-5152

PAN,OIL

SN: 10001-10794

1шт.

2

6215-21-5830

GASKET (K2)

SN: 10001-@

1шт.

3

01010-81030

BOLT

SN: 10001-@

50шт.

4

02720-11616

PLUG

SN: 10001-@

2шт.

5

07043-70108

PLUG

SN: 10001-@

2шт.

6

07043-70211

PLUG

SN: 10001-@

1шт.

|$7

6693-22-5600

VALVE ASS'Y

SN: 10001-@

1шт.

7

0

BODY

SN: 10001-@

1шт.

8

0

VALVE,DRAIN

SN: 10001-@

1шт.

9

07040-02412

PLUG

SN: 10001-@

1шт.

10

04020-00514

PIN

SN: 10001-@

1шт.

11

07000-63028

O-RING (K2)

SN: 10001-@

1шт.

12

01010-81030

BOLT

SN: 10001-@

2шт.

13

01643-31032

WASHER

SN: 10001-@

2шт.

14

6215-21-5160

COVER

SN: 10001-@

1шт.

15

01010-81020

BOLT

SN: 10001-@

2шт.

16

6215-51-6231

TUBE,SUCTION

SN: 10001-10794

1шт.

17

07000-32070

O-RING (K2)

SN: 10001-@

1шт.

18

01010-81030

BOLT

SN: 10001-@

2шт.

19

6215-51-6241

BRACKET

SN: 10001-@

1шт.

20

01010-81020

BOLT

SN: 10001-@

2шт.

21

01580-01008

NUT

SN: 10001-@

1шт.

22

01640-21016

WASHER

SN: 10001-@

3шт.

23

6210-81-4210

CASE

SN: 10001-10794

1шт.

24

6215-81-5810

BRACKET

SN: 10001-10794

1шт.

25

01435-01080

BOLT

SN: 10001-10794

2шт.

26

01435-01020

BOLT

SN: 10001-10794

1шт.

27

7861-91-4550

SENSOR,OIL LEVEL

SN: 10001-10794

1шт.

27

0

SENSOR,OIL LEVEL

SN: (10001-10013)

1шт.

28

07002-23634

O-RING (K2)

SN: 10001-10794

1шт.

29

6631-11-5630

SPACER

SN: 10001-10794

1шт.

30

01435-01045

BOLT

SN: 10001-10794

1шт.

31

01643-31032

WASHER

SN: 10001-10794

1шт.

32

600-050-2620

CLIP

SN: 10001-10794

1шт.

33

6215-81-5830

TUBE

SN: 10001-10794

1шт.

34

6215-81-5850

HOSE

SN: 10001-10794

1шт.

35

6215-21-5510

BUSHING

SN: 10001-10794

1шт.

36

07217-50813

ELBOW

SN: 10001-10794

1шт.

37

07206-30812

BOLT,JOINT

SN: 10001-10794

3шт.

38

07005-01212

SEAL, WASHER (K2)

SN: 10001-10794

6шт.

39

09920-00150

LIQUID GASKET,LG-7, 150G

SN: 10001-@

-2шт.

1

6215-21-5152

PAN,OIL

SN: 10001-10794

1шт.

2

6215-21-5830

GASKET (K2)

SN: 10001-@

1шт.

3

01010-81030

BOLT

SN: 10001-@

50шт.

4

02720-11616

PLUG

SN: 10001-@

2шт.

5

07043-70108

PLUG

SN: 10001-@

2шт.

6

07043-70211

PLUG

SN: 10001-@

1шт.

|$7

6693-22-5600

VALVE ASS'Y

SN: 10001-@

1шт.

7

0

BODY

SN: 10001-@

1шт.

8

0

VALVE,DRAIN

SN: 10001-@

1шт.

9

07040-02412

PLUG

SN: 10001-@

1шт.

10

04020-00514

PIN

SN: 10001-@

1шт.

11

07000-63028

O-RING (K2)

SN: 10001-@

1шт.

12

01010-81030

BOLT

SN: 10001-@

2шт.

13

01643-31032

WASHER

SN: 10001-@

2шт.

14

6215-21-5160

COVER

SN: 10001-@

1шт.

15

01010-81020

BOLT

SN: 10001-@

2шт.

16

6215-51-6231

TUBE,SUCTION

SN: 10001-10794

1шт.

17

07000-32070

O-RING (K2)

SN: 10001-@

1шт.

18

01010-81030

BOLT

SN: 10001-@

2шт.

19

6215-51-6241

BRACKET

SN: 10001-@

1шт.

20

01010-81020

BOLT

SN: 10001-@

2шт.

21

01580-01008

NUT

SN: 10001-@

1шт.

22

01640-21016

WASHER

SN: 10001-@

3шт.

23

6210-81-4210

CASE

SN: 10001-10794

1шт.

24

6215-81-5810

BRACKET

SN: 10001-10794

1шт.

25

01435-01080

BOLT

SN: 10001-10794

2шт.

26

01435-01020

BOLT

SN: 10001-10794

1шт.

27

7861-91-4550

SENSOR,OIL LEVEL

SN: 10001-10794

1шт.

27

0

SENSOR,OIL LEVEL

SN: (10001-10013)

1шт.

28

07002-23634

O-RING (K2)

SN: 10001-10794

1шт.

29

6631-11-5630

SPACER

SN: 10001-10794

1шт.

30

01435-01045

BOLT

SN: 10001-10794

1шт.

31

01643-31032

WASHER

SN: 10001-10794

1шт.

32

600-050-2620

CLIP

SN: 10001-10794

1шт.

33

6215-81-5830

TUBE

SN: 10001-10794

1шт.

34

6215-81-5850

HOSE

SN: 10001-10794

1шт.

35

6215-21-5510

BUSHING

SN: 10001-10794

1шт.

36

07217-50813

ELBOW

SN: 10001-10794

1шт.

37

07206-30812

BOLT,JOINT

SN: 10001-10794

3шт.

38

07005-01212

SEAL, WASHER (K2)

SN: 10001-10794

6шт.

39

09920-00150

LIQUID GASKET,LG-7, 150G

SN: 10001-@

-2шт.

Выбрано товаров: 82