Запчасти Komatsu SA12V140-1D-A ВЫКЛЮЧАТЕЛЬ ПОДОГРЕВАТЕЛЯ (ПРАВ. ГРУПП.)(№-) ДВИГАТЕЛЬ

Схема запчастей Komatsu SA12V140-1D-A - ВЫКЛЮЧАТЕЛЬ ПОДОГРЕВАТЕЛЯ (ПРАВ. ГРУПП.)(№-) ДВИГАТЕЛЬ
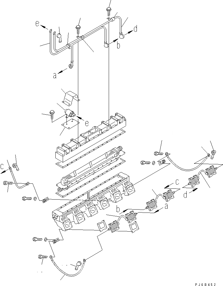
1
2
3
4
5
6
7
8
9
9
9
10
10
10
11
12
13
14
15
15
15
16
16
16
FIT
1:1
100%

Артикул

Название

Примечание

Количество

1

600-815-2690

SWITCH,HEATER

SN: 10034-@

1шт.

2

6212-81-4132

COVER

SN: 10034-@

1шт.

3

6215-81-8110

PLATE

SN: 10034-@

1шт.

4

01435-21030

BOLT

SN: 10034-@

4шт.

5

01435-20812

BOLT

SN: 10034-@

2шт.

6

6212-81-4370

WIRE

SN: 10034-10165

1шт.

7

08034-00414

BAND

SN: 10034-10165

1шт.

8

6212-81-4330

WIRE

SN: 10034-10165

1шт.

9

6215-81-8120

WIRE

SN: 10034-10165

3шт.

10

6151-81-4530

WIRE, 170MM

SN: 10034-10165

3шт.

11

08036-31210

CLIP

SN: 10034-10165

1шт.

12

01435-21020

BOLT

SN: 10034-10165

1шт.

13

600-050-2420

CLIP

SN: 10034-10165

1шт.

14

08038-06031

CAP

SN: 10034-10165

1шт.

15

08038-10525

CAP

SN: 10034-10165

3шт.

16

01010-31020

BOLT

SN: 10034-10165

3шт.

Выбрано товаров: 16