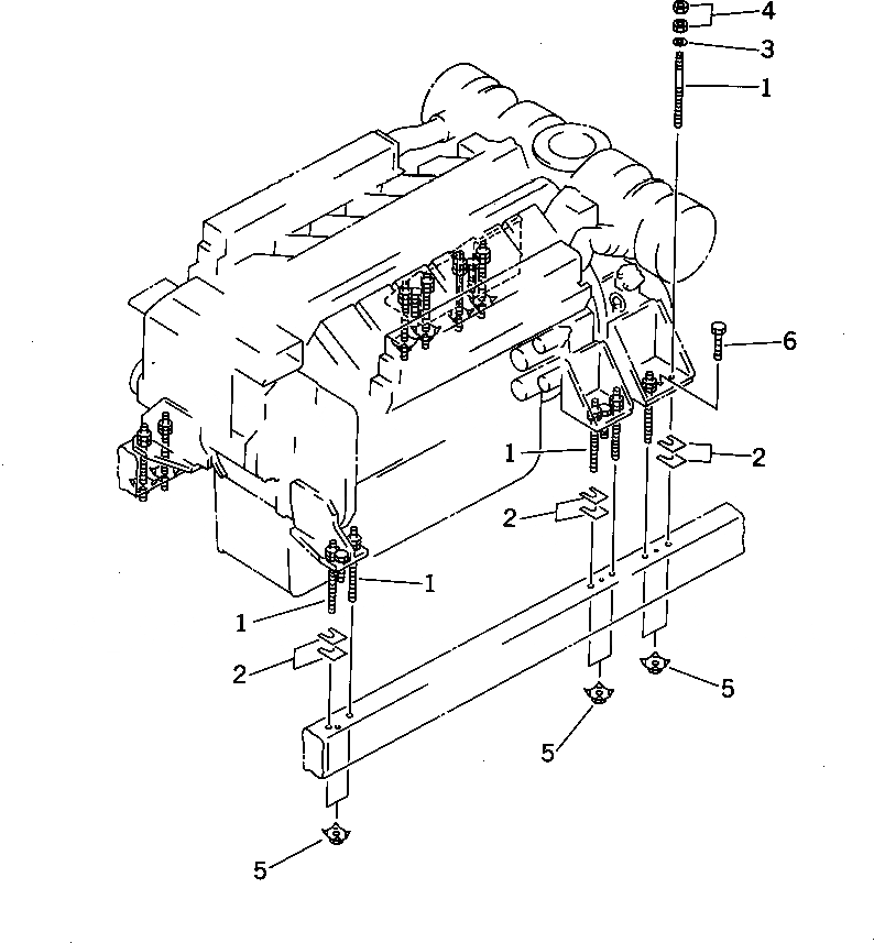
Запчасти Komatsu SA12V140-1M MARINE КРЕПЛЕНИЕ ДВИГАТЕЛЯ ДВИГАТЕЛЬ

Схема запчастей Komatsu SA12V140-1M - MARINE КРЕПЛЕНИЕ ДВИГАТЕЛЯ ДВИГАТЕЛЬ
FIT
1:1
100%

Артикул

Название

Примечание

Количество

1

7700-65-2140

STUD

SN: 10517-UP

12шт.

2

7700-65-2600

SHIM ASS'Y (K2)

SN: 10517-UP

6шт.

|2

7700-65-2610

SHIM¤ 0.1MM

SN: 10517-UP

4шт.

|2

7700-65-2620

SHIM¤ 0.2MM

SN: 10517-UP

4шт.

|2

7700-65-2630

SHIM¤ 0.5MM

SN: 10517-UP

2шт.

|2

7700-65-2640

SHIM¤ 1.0MM

SN: 10517-UP

2шт.

3

01643-32060

WASHER

SN: 10517-UP

12шт.

4

01580-12016

NUT

SN: 10517-UP

24шт.

5

7700-65-2150

WASHER

SN: 10517-UP

12шт.

6

01016-51850

BOLT

SN: 10517-UP

6шт.

Выбрано товаров: 0