Запчасти Komatsu SA12V140-1M ГОЛОВКА ЦИЛИНДРОВ (JCI СПЕЦ-Я.) ДВИГАТЕЛЬ

Схема запчастей Komatsu SA12V140-1M - ГОЛОВКА ЦИЛИНДРОВ (JCI СПЕЦ-Я.) ДВИГАТЕЛЬ
FIT
1:1
100%

Артикул

Название

Примечание

Количество

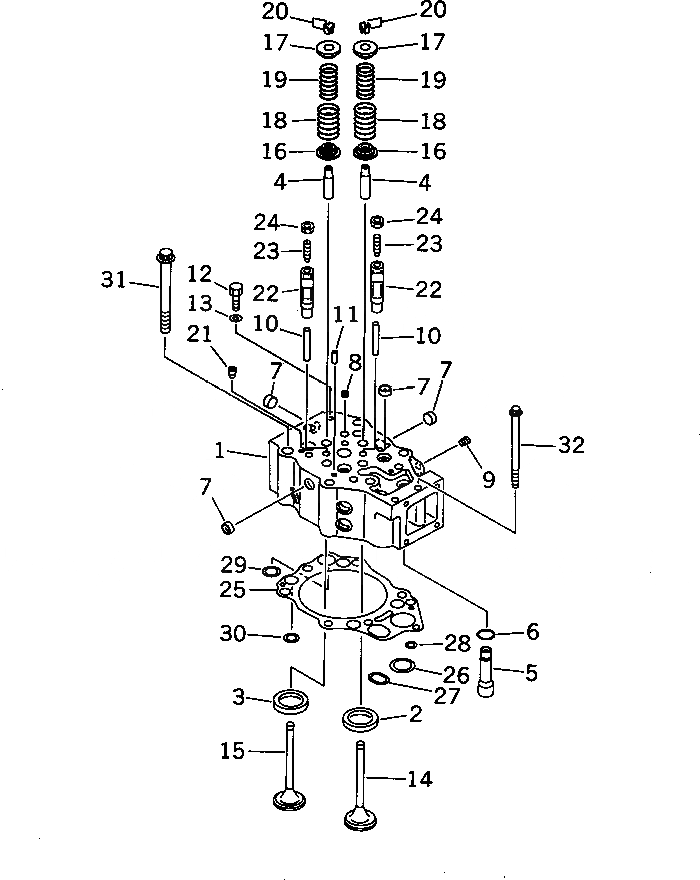
|1

6212-11-1103

CYLINDER HEAD ASS'Y,VALVE LESS

SN: 10584-UP

12шт.

|1

6215-15-1200

CYLINDER HEAD A.,VALVE LESS

SN: 10517-10583

12шт.

1

0

HEAD,CYLINDER

SN: 10584-UP

1шт.

|1

0

HEAD,CYLINDER

SN: 10517-10583

1шт.

2

6212-11-1330

INSERT,INTAKE VALVE (STD)

SN: 10517-UP

2шт.

|2

6212-19-1330

INSERT¤ 0.25MM,INTAKE VALVE (OS)

SN: 10517-UP

2шт.

|2

6212-18-1330

INSERT¤ 0.50MM,INTAKE VALVE (OS)

SN: 10517-UP

2шт.

|2

6212-17-1330

INSERT¤ 0.75MM,INTAKE VALVE (OS)

SN: 10517-UP

2шт.

|2

6212-16-1330

INSERT¤ 1.00MM,INTAKE VALVE (OS)

SN: 10517-UP

2шт.

3

6210-11-1321

INSERT,EXHAUST VALVE (STD)

SN: 10517-UP

2шт.

|3

6210-19-1321

INSERT¤ 0.25MM,EXHAUST VALVE (OS)

SN: 10517-UP

2шт.

|3

6210-18-1321

INSERT¤ 0.50MM,EXHAUST VALVE (OS)

SN: 10517-UP

2шт.

|3

6210-17-1321

INSERT¤ 0.75MM,EXHAUST VALVE (OS)

SN: 10517-UP

2шт.

|3

6210-16-1321

INSERT¤ 1.00MM,EXHAUST VALVE (OS)

SN: 10517-UP

2шт.

4

6212-11-1440

GUIDE,VALVE

SN: 10584-UP

4шт.

|4

6212-15-1421

GUIDE,VALVE

SN: 10517-10583

4шт.

5

6210-11-1150

PIPE

SN: 10517-UP

1шт.

6

07000-63025

O-RING (K1)

SN: 10517-UP

1шт.

7

6162-13-1150

PLUG,EXPANSION

SN: 10517-UP

12шт.

8

07046-41810

PLUG,EXPANSION

SN: 10517-UP

1шт.

9

07043-50108

PLUG

SN: 10517-UP

1шт.

10

6210-11-1140

GUIDE,CROSSHEAD

SN: 10517-UP

2шт.

11

04020-00820

PIN,DOWEL

SN: 10517-UP

2шт.

12

01010-51016

BOLT

SN: 10517-UP

1шт.

13

07003-01015

GASKET

SN: 10517-UP

1шт.

14

6215-41-4110

VALVE,INTAKE

SN: 10517-UP

24шт.

15

6215-41-4212

VALVE,EXHAUST

SN: 10517-UP

24шт.

16

6210-41-4530

SEAT,LOWER

SN: 10517-UP

48шт.

17

6210-41-4510

SEAT,UPPER

SN: 10517-UP

48шт.

18

6210-41-4430

SPRING,OUTER

SN: 10517-UP

48шт.

19

6210-41-4440

SPRING,INNER

SN: 10517-UP

48шт.

20

6136-41-4520

COTTER

SN: 10517-UP

48шт.

21

02720-40104

PLUG

SN: 10517-10583

12шт.

22

6210-41-5630

CROSSHEAD

SN: 10517-UP

24шт.

23

6210-41-5640

SCREW

SN: 10517-UP

24шт.

24

6162-43-5630

NUT

SN: 10584-UP

24шт.

|24

6127-41-5630

NUT

SN: 10517-10583

24шт.

25

6210-17-1813

GASKET,HEAD (K1)

SN: 10517-UP

12шт.

26

6210-11-1820

GROMMET,OIL

SN: 10517-UP

1шт.

27

6210-11-1830

GROMMET,OIL

SN: 10517-UP

1шт.

28

6210-11-1840

GROMMET,OIL

SN: 10517-UP

1шт.

29

6210-11-1962

GROMMET,WATER

SN: 10517-UP

1шт.

30

6210-11-1952

GROMMET,WATER

SN: 10517-UP

4шт.

31

6210-11-1610

BOLT,HEAD

SN: 10517-UP

72шт.

32

01438-01020

BOLT,HEAD

SN: 10517-UP

12шт.

Выбрано товаров: 45