Запчасти Komatsu SA12V140-1M ФОРСУНКА ДВИГАТЕЛЬ

Схема запчастей Komatsu SA12V140-1M - ФОРСУНКА ДВИГАТЕЛЬ
FIT
1:1
100%

Артикул

Название

Примечание

Количество

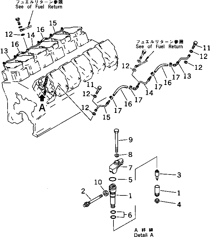
|1

6212-15-3701

NOZZLE HOLDER ASS'Y

SN: 10584-UP

12шт.

|1

6212-15-3700

NOZZLE HOLDER ASS'Y

SN: 10517-10583

12шт.

1

6212-15-3710

HOLDER ASS'Y,(SEE FIG.A4210-B7A3)

SN: 10517-UP

1шт.

2

6212-11-3131

CONNECTOR

SN: 10584-UP

1шт.

|2

6212-11-3130

CONNECTOR

SN: 10517-10583

1шт.

3

6212-15-3720

NOZZLE ASS'Y

SN: 10517-UP

1шт.

4

6210-71-1160

GASKET (K1)

SN: 10517-UP

12шт.

5

6210-11-7710

O-RING (K1)

SN: 10517-UP

12шт.

6

07000-22021

O-RING (K1)

SN: 10517-UP

24шт.

7

6210-71-1150

HOLDER

SN: 10517-UP

12шт.

8

6210-71-1140

WASHER

SN: 10517-UP

12шт.

9

01011-31020

BOLT

SN: 10517-UP

12шт.

10

6211-71-9770

NUT

SN: 10584-UP

12шт.

|10

01582-01210

NUT

SN: 10517-10583

12шт.

11

07206-30508

BOLT,JOINT

SN: 10517-UP

10шт.

12

07005-00812

GASKET (K1)

SN: 10517-UP

24шт.

13

6215-71-5570

TUBE

SN: 10517-UP

2шт.

14

6215-71-5580

TUBE

SN: 10517-UP

2шт.

15

6215-71-5590

TUBE

SN: 10517-UP

2шт.

16

07270-20411

TUBE

SN: 10517-UP

4шт.

17

07285-00085

CLIP

SN: 10517-UP

8шт.

Выбрано товаров: 21