Запчасти Komatsu SA12V140-1P СМАЗЫВ. НАСОС И ВСАСЫВ. PIPE СИСТЕМА СМАЗКИ МАСЛ. СИСТЕМА

Схема запчастей Komatsu SA12V140-1P - СМАЗЫВ. НАСОС И ВСАСЫВ. PIPE СИСТЕМА СМАЗКИ МАСЛ. СИСТЕМА
FIT
1:1
100%

Артикул

Название

Примечание

Количество

|$0

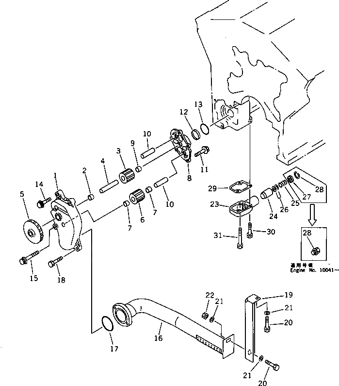
6215-51-1100

OIL PUMP ASS'Y

SN: 10002-UP

1шт.

|$1

6215-51-1200

BODY ASS'Y

SN: 10002-UP

1шт.

1

0

BODY

SN: 10002-UP

1шт.

2

6136-52-1330

BUSHING

SN: 10002-UP

1шт.

|$4

6215-51-1300

DRIVE SHAFT ASS'Y

SN: 10002-UP

1шт.

3

0

GEAR,DRIVE

SN: 10002-UP

1шт.

4

6215-51-1320

SHAFT

SN: 10002-UP

1шт.

5

6215-51-1310

GEAR

SN: 10002-UP

1шт.

|$8

6151-51-1401

GEAR ASS'Y

SN: 10002-UP

2шт.

6

0

GEAR

SN: 10002-UP

1шт.

7

6151-51-1421

BUSHING

SN: 10002-UP

2шт.

|$11

6215-51-1400

COVER ASS'Y

SN: 10002-UP

1шт.

8

0

COVER

SN: 10002-UP

1шт.

9

6136-52-1220

BUSHING

SN: 10002-UP

1шт.

10

6151-51-1320

SHAFT,DRIVEN

SN: 10002-UP

2шт.

11

01435-00825

BOLT

SN: 10002-UP

5шт.

12

6215-51-1450

RING

SN: 10002-UP

1шт.

13

07000-33050

O-RING (K2)

SN: 10002-UP

1шт.

14

01437-01245

BOLT

SN: 10002-UP

2шт.

15

01437-01280

BOLT

SN: 10002-UP

1шт.

16

6215-51-6231

TUBE

SN: 10002-UP

1шт.

17

07000-32070

O-RING (K2)

SN: 10253-UP

1шт.

17

0

O-RING (K2)

SN: 10002-10252

1шт.

18

01010-31030

BOLT

SN: 10002-UP

2шт.

19

6215-51-6241

BRACKET

SN: 10002-UP

1шт.

20

01010-31020

BOLT

SN: 10002-UP

2шт.

21

01643-31032

WASHER

SN: 10002-UP

3шт.

22

01580-01008

NUT

SN: 10002-UP

1шт.

|$28

6215-51-1701

VALVE ASS'Y

SN: 10041-UP

1шт.

|$29

0

VALVE ASS'Y

SN: (10002-10040)

1шт.

23

0

BODY

SN: 10041-UP

1шт.

23

0

BODY

SN: 10002-10040

1шт.

24

6215-51-1730

VALVE

SN: 10002-UP

1шт.

25

6215-51-1750

SPRING

SN: 10002-UP

1шт.

26

11T-27-11190

SHIM, 1.0MM

SN: 10002-UP

-2шт.

27

6215-51-1721

RETAINER

SN: 10027-10040

1шт.

27

6215-51-1720

RETAINER

SN: 10002-10026

1шт.

28

6215-51-1740

PLUG

SN: 10041-UP

1шт.

28

04065-02812

RING,SNAP

SN: 10002-10040

1шт.

29

6215-51-1780

GASKET (K2)

SN: 10002-UP

1шт.

30

01010-31030

BOLT

SN: 10002-UP

2шт.

31

01010-31055

BOLT

SN: 10002-UP

1шт.

|$0

6215-51-1100

OIL PUMP ASS'Y

SN: 10002-UP

1шт.

|$1

6215-51-1200

BODY ASS'Y

SN: 10002-UP

1шт.

1

0

BODY

SN: 10002-UP

1шт.

2

6136-52-1330

BUSHING

SN: 10002-UP

1шт.

|$4

6215-51-1300

DRIVE SHAFT ASS'Y

SN: 10002-UP

1шт.

3

0

GEAR,DRIVE

SN: 10002-UP

1шт.

4

6215-51-1320

SHAFT

SN: 10002-UP

1шт.

5

6215-51-1310

GEAR

SN: 10002-UP

1шт.

|$8

6151-51-1401

GEAR ASS'Y

SN: 10002-UP

2шт.

6

0

GEAR

SN: 10002-UP

1шт.

7

6151-51-1421

BUSHING

SN: 10002-UP

2шт.

|$11

6215-51-1400

COVER ASS'Y

SN: 10002-UP

1шт.

8

0

COVER

SN: 10002-UP

1шт.

9

6136-52-1220

BUSHING

SN: 10002-UP

1шт.

10

6151-51-1320

SHAFT,DRIVEN

SN: 10002-UP

2шт.

11

01435-00825

BOLT

SN: 10002-UP

5шт.

12

6215-51-1450

RING

SN: 10002-UP

1шт.

13

07000-33050

O-RING (K2)

SN: 10002-UP

1шт.

14

01437-01245

BOLT

SN: 10002-UP

2шт.

15

01437-01280

BOLT

SN: 10002-UP

1шт.

16

6215-51-6231

TUBE

SN: 10002-UP

1шт.

17

07000-32070

O-RING (K2)

SN: 10253-UP

1шт.

17

0

O-RING (K2)

SN: 10002-10252

1шт.

18

01010-31030

BOLT

SN: 10002-UP

2шт.

19

6215-51-6241

BRACKET

SN: 10002-UP

1шт.

20

01010-31020

BOLT

SN: 10002-UP

2шт.

21

01643-31032

WASHER

SN: 10002-UP

3шт.

22

01580-01008

NUT

SN: 10002-UP

1шт.

|$28

6215-51-1701

VALVE ASS'Y

SN: 10041-UP

1шт.

|$29

0

VALVE ASS'Y

SN: (10002-10040)

1шт.

23

0

BODY

SN: 10041-UP

1шт.

23

0

BODY

SN: 10002-10040

1шт.

24

6215-51-1730

VALVE

SN: 10002-UP

1шт.

25

6215-51-1750

SPRING

SN: 10002-UP

1шт.

26

11T-27-11190

SHIM, 1.0MM

SN: 10002-UP

-2шт.

27

6215-51-1721

RETAINER

SN: 10027-10040

1шт.

27

6215-51-1720

RETAINER

SN: 10002-10026

1шт.

28

6215-51-1740

PLUG

SN: 10041-UP

1шт.

28

04065-02812

RING,SNAP

SN: 10002-10040

1шт.

29

6215-51-1780

GASKET (K2)

SN: 10002-UP

1шт.

30

01010-31030

BOLT

SN: 10002-UP

2шт.

31

01010-31055

BOLT

SN: 10002-UP

1шт.

Выбрано товаров: 84