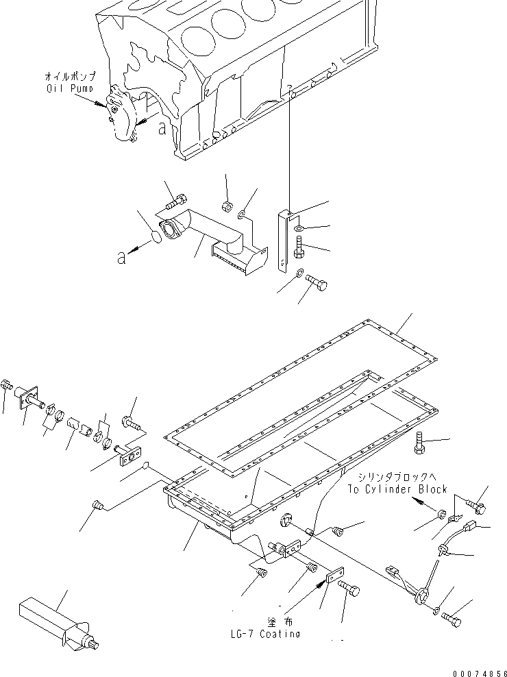
Запчасти Komatsu SA12V140-1R-A МАСЛЯНЫЙ ПОДДОН И ВСАСЫВАЮЩИЙ ПАТРУБОК(№7-9) ДВИГАТЕЛЬ

Схема запчастей Komatsu SA12V140-1R-A - МАСЛЯНЫЙ ПОДДОН И ВСАСЫВАЮЩИЙ ПАТРУБОК(№7-9) ДВИГАТЕЛЬ
1
2
3
4
4
5
6
7
8
9
10
10
11
12
13
14
15
16
17
18
19
20
21
22
23
24
25
26
27
27
28
29
29
29
30
1
2
3
4
4
5
6
7
8
9
10
10
11
12
13
14
15
16
17
18
19
20
21
22
23
24
25
26
27
27
28
29
29
29
30
FIT
1:1
100%

Артикул

Название

Примечание

Количество

1

6215-21-5154

PAN,OIL

SN: 11575-11639

1шт.

2

6215-21-5830

GASKET

SN: 11575-11639

1шт.

3

01010-81030

BOLT

SN: 11575-11639

50шт.

4

07043-70108

PLUG

SN: 11575-11639

2шт.

5

02720-11616

PLUG

SN: 11575-11639

2шт.

6

07043-70211

PLUG

SN: 11575-11639

1шт.

|$9

428-01-11100

HOSE ASS'Y

SN: 11575-11639

1шт.

7

426-01-11211

TUBE

SN: 11575-11639

1шт.

8

424-01-11140

HOSE

SN: 11575-11639

1шт.

9

426-01-11231

TUBE

SN: 11575-11639

1шт.

10

07281-00359

CLAMP

SN: 11575-11639

4шт.

11

424-01-11110

PLUG

SN: 11575-11639

1шт.

12

07000-73025

O-RING

SN: 11575-11639

1шт.

13

01435-01025

BOLT

SN: 11575-11639

2шт.

14

6215-21-5160

COVER

SN: 11575-11639

1шт.

15

01010-81020

BOLT

SN: 11575-11639

2шт.

16

7861-92-4210

SENSOR

SN: 11575-11639

1шт.

17

01010-80612

BOLT

SN: 11575-11639

3шт.

18

01640-20610

WASHER

SN: 11575-11639

3шт.

19

01435-01035

BOLT

SN: 11575-11639

1шт.

20

6631-11-5630

SPACER

SN: 11575-11639

1шт.

21

08053-01510

CLIP

SN: 11575-11639

1шт.

22

08034-00310

BAND

SN: 11575-11639

1шт.

23

6215-51-6362

TUBE

SN: 11575-11639

1шт.

24

07000-E2080

O-RING

SN: 11575-11639

1шт.

25

01010-81235

BOLT

SN: 11575-11639

2шт.

26

6215-51-6241

BRACKET

SN: 11575-11639

1шт.

27

01010-81025

BOLT

SN: 11575-11639

2шт.

28

01580-01008

NUT

SN: 11575-11639

1шт.

29

01643-31032

WASHER

SN: 11575-11639

3шт.

30

09920-00150

LIQUID GASKET,LG-7, 150G

SN: 11575-11639

-2шт.

1

6215-21-5154

PAN,OIL

SN: 11575-11639

1шт.

2

6215-21-5830

GASKET

SN: 11575-11639

1шт.

3

01010-81030

BOLT

SN: 11575-11639

50шт.

4

07043-70108

PLUG

SN: 11575-11639

2шт.

5

02720-11616

PLUG

SN: 11575-11639

2шт.

6

07043-70211

PLUG

SN: 11575-11639

1шт.

|$9

428-01-11100

HOSE ASS'Y

SN: 11575-11639

1шт.

7

426-01-11211

TUBE

SN: 11575-11639

1шт.

8

424-01-11140

HOSE

SN: 11575-11639

1шт.

9

426-01-11231

TUBE

SN: 11575-11639

1шт.

10

07281-00359

CLAMP

SN: 11575-11639

4шт.

11

424-01-11110

PLUG

SN: 11575-11639

1шт.

12

07000-73025

O-RING

SN: 11575-11639

1шт.

13

01435-01025

BOLT

SN: 11575-11639

2шт.

14

6215-21-5160

COVER

SN: 11575-11639

1шт.

15

01010-81020

BOLT

SN: 11575-11639

2шт.

16

7861-92-4210

SENSOR

SN: 11575-11639

1шт.

17

01010-80612

BOLT

SN: 11575-11639

3шт.

18

01640-20610

WASHER

SN: 11575-11639

3шт.

19

01435-01035

BOLT

SN: 11575-11639

1шт.

20

6631-11-5630

SPACER

SN: 11575-11639

1шт.

21

08053-01510

CLIP

SN: 11575-11639

1шт.

22

08034-00310

BAND

SN: 11575-11639

1шт.

23

6215-51-6362

TUBE

SN: 11575-11639

1шт.

24

07000-E2080

O-RING

SN: 11575-11639

1шт.

25

01010-81235

BOLT

SN: 11575-11639

2шт.

26

6215-51-6241

BRACKET

SN: 11575-11639

1шт.

27

01010-81025

BOLT

SN: 11575-11639

2шт.

28

01580-01008

NUT

SN: 11575-11639

1шт.

29

01643-31032

WASHER

SN: 11575-11639

3шт.

30

09920-00150

LIQUID GASKET,LG-7, 150G

SN: 11575-11639

-2шт.

Выбрано товаров: 62