Запчасти Komatsu SA12V140-1R ЗАЩИТА (ПРИВОД ТОПЛ. НАСОСА) (ДЛЯ ЭЛЕКТРИЧ. РЕГУЛЯТОРА)(№9-999) ДВИГАТЕЛЬ

Схема запчастей Komatsu SA12V140-1R - ЗАЩИТА (ПРИВОД ТОПЛ. НАСОСА) (ДЛЯ ЭЛЕКТРИЧ. РЕГУЛЯТОРА)(№9-999) ДВИГАТЕЛЬ
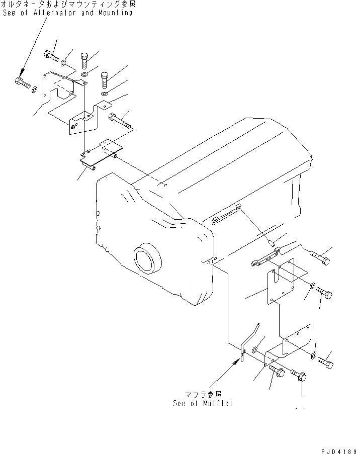
1
2
3
3
4
4
5
6
7
7
7
8
8
8
9
10
11
11
12
13
14
15
FIT
1:1
100%

Артикул

Название

Примечание

Количество

1

6215-71-2636

COVER,L.H.

SN: 11911-11999

1шт.

2

6215-71-2520

COVER,L.H.

SN: 11911-11999

1шт.

3

01010-81020

BOLT

SN: 11911-11999

6шт.

4

01643-31032

WASHER

SN: 11911-11999

6шт.

5

6215-71-2613

COVER,R.H.

SN: 11911-11999

1шт.

6

01011-81000

BOLT

SN: 11911-11999

2шт.

7

01010-81020

BOLT

SN: 11911-11999

4шт.

8

01643-31032

WASHER

SN: 11911-11999

4шт.

9

6215-71-4850

COVER,R.H.

SN: 11911-11999

1шт.

10

6215-71-4860

BRACKET,R.H.

SN: 11911-11999

1шт.

11

01435-01020

BOLT

SN: 11911-11999

2шт.

12

6215-71-2853

BRACKET,L.H.

SN: 11911-11999

1шт.

13

206-01-44320

SPACER

SN: 11911-11999

2шт.

14

01010-81075

BOLT

SN: 11911-11999

2шт.

15

01643-31032

WASHER

SN: 11911-11999

1шт.

Выбрано товаров: 0