Запчасти Komatsu SA12V140-1U-A МАСЛЯНЫЙ ПОДДОН И ВСАСЫВАЮЩИЙ ПАТРУБОК (С ДАТЧИК УР-НЯ МАСЛА)(№-) ДВИГАТЕЛЬ

Схема запчастей Komatsu SA12V140-1U-A - МАСЛЯНЫЙ ПОДДОН И ВСАСЫВАЮЩИЙ ПАТРУБОК (С ДАТЧИК УР-НЯ МАСЛА)(№-) ДВИГАТЕЛЬ
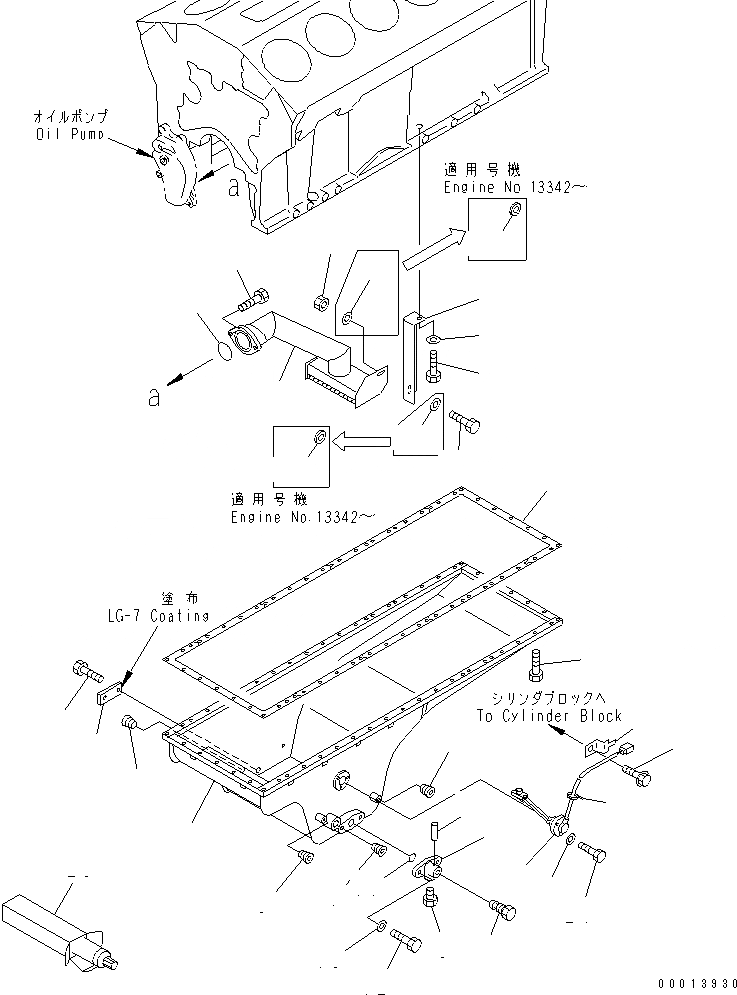
1
2
3
4
5
5
6
7
8
9
10
11
12
13
14
15
16
17
18
19
20
20
21
22
22
22
22A
22A
23
24
25
26
27
28
29
FIT
1:1
100%

Артикул

Название

Примечание

Количество

1

6215-21-5154

PAN,OIL

SN: 11367-UP

1шт.

|1

0

PAN,OIL

SN: 11024-11366

1шт.

2

6215-21-5830

GASKET (K2)

SN: 11024-UP

1шт.

3

01010-81030

BOLT

SN: 11024-UP

50шт.

4

02720-11616

PLUG

SN: 11024-UP

2шт.

5

07043-70108

PLUG

SN: 11024-UP

2шт.

6

07043-70211

PLUG

SN: 11024-UP

1шт.

|7

6693-22-5600

VALVE ASS'Y

SN: 11024-UP

1шт.

7

0

BODY

SN: 11024-UP

1шт.

8

0

VALVE

SN: 11024-UP

1шт.

9

07040-02412

PLUG

SN: 11024-UP

1шт.

10

04020-00514

PIN,DOWEL

SN: 11024-UP

1шт.

11

07000-73028

O-RING (K2)

SN: 12480-UP

1шт.

|11

0

O-RING (K2)

SN: 11024-12479

1шт.

12

01010-81030

BOLT

SN: 11431-UP

2шт.

|12

0

BOLT

SN: 11024-11430

2шт.

13

01643-31032

WASHER

SN: 11024-UP

2шт.

14

6215-21-5160

COVER

SN: 11024-UP

1шт.

15

01010-81020

BOLT

SN: 11431-UP

2шт.

|15

0

BOLT

SN: 11024-11430

2шт.

16

6215-51-6362

TUBE

SN: 11024-UP

1шт.

17

07000-E2080

O-RING

SN: 11024-UP

1шт.

18

01010-81235

BOLT

SN: 11024-UP

2шт.

19

6215-51-6241

BRACKET

SN: 11024-UP

1шт.

20

01010-81025

BOLT

SN: 11024-UP

2шт.

21

01580-01008

NUT

SN: 11024-UP

1шт.

22

01643-31032

WASHER

SN: 13342-UP

1шт.

|22

01643-31032

WASHER

SN: 11024-13341

3шт.

22A

6110-23-6490

SPACER

SN: 13342-UP

2шт.

23

7861-92-4250

SENSOR

SN: 11024-UP

1шт.

|23

7861-91-4220

O-RING,(NOT SHOWN)

SN: 11024-UP

1шт.

24

01010-80612

BOLT

SN: 11431-UP

3шт.

|24

0

BOLT

SN: 11024-11430

3шт.

25

01640-20610

WASHER

SN: 11024-UP

3шт.

26

08053-01512

CLIP

SN: 11024-UP

1шт.

27

01435-01020

BOLT

SN: 11024-UP

1шт.

28

08034-00310

BAND

SN: 11024-UP

1шт.

29

09920-00150

LIQUID GASKET,LG-7¤ 150G

SN: 11024-UP

1шт.

Выбрано товаров: 38