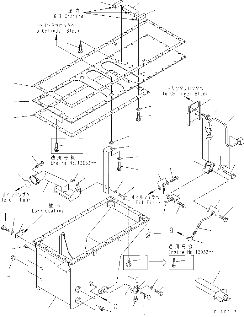
Запчасти Komatsu SA12V140-1U МАСЛЯНЫЙ ПОДДОН И ВСАСЫВАЮЩИЙ ПАТРУБОК (С ДАТЧИК УР-НЯ МАСЛА)(№79-) ДВИГАТЕЛЬ

Схема запчастей Komatsu SA12V140-1U - МАСЛЯНЫЙ ПОДДОН И ВСАСЫВАЮЩИЙ ПАТРУБОК (С ДАТЧИК УР-НЯ МАСЛА)(№79-) ДВИГАТЕЛЬ
1
2
3
4
4
5
6
7
8
8
9
9
10
10A
11
12
12
13
14
15
16
17
18
19
20
21
22
23
24
25
26
27
27
27
28
28
28
29
30
31
32
33
34
35
36
37
38
39
40
41
42
42
42
43
44
FIT
1:1
100%

Артикул

Название

Примечание

Количество

1

6215-21-5210

PAN,OIL

SN: 11755-UP

1шт.

2

6215-21-5121

PLATE

SN: 11755-UP

1шт.

3

6215-21-5130

PLATE

SN: 11755-UP

1шт.

4

6215-21-5140

PLATE

SN: 11755-UP

2шт.

5

6215-21-5811

GASKET (K2)

SN: 11755-UP

1шт.

6

6215-21-5820

GASKET (K2)

SN: 11755-UP

1шт.

7

01010-81040

BOLT

SN: 11755-UP

35шт.

8

01010-81035

BOLT

SN: 13033-UP

5шт.

|8

01435-01035

BOLT

SN: 11755-13032

5шт.

9

01010-81025

BOLT

SN: 11755-UP

26шт.

10

01643-31032

WASHER

SN: 11755-UP

26шт.

10A

01435-01020

BOLT

SN: 13033-UP

2шт.

11

07043-70211

PLUG

SN: 11755-UP

1шт.

12

02720-11616

PLUG

SN: 11755-UP

4шт.

13

6215-21-5160

COVER

SN: 11755-UP

1шт.

14

01010-81020

BOLT

SN: 11755-UP

2шт.

15

01643-31032

WASHER

SN: 11755-UP

2шт.

|16

6693-22-5600

VALVE ASS'Y

SN: 11755-UP

1шт.

16

0

BODY

SN: 11755-UP

1шт.

17

0

VALVE

SN: 11755-UP

1шт.

18

07040-02412

PLUG

SN: 11755-UP

1шт.

19

04020-00514

PIN,DOWEL

SN: 11755-UP

1шт.

20

07000-73028

O-RING (K2)

SN: 12472-UP

1шт.

|20

0

O-RING (K2)

SN: 11755-12471

1шт.

21

01010-81030

BOLT

SN: 11755-UP

2шт.

22

01643-31032

WASHER

SN: 11755-UP

2шт.

23

7861-92-4550

SENSOR

SN: 11755-UP

1шт.

24

6162-83-8612

CASE

SN: 11755-UP

1шт.

25

07002-23634

O-RING (K2)

SN: 11755-UP

1шт.

26

6215-81-5950

BRACKET

SN: 11794-UP

1шт.

27

07206-31014

BOLT,JOINT

SN: 11755-UP

3шт.

28

07005-01412

GASKET

SN: 11755-UP

6шт.

29

6215-81-5960

TUBE

SN: 11794-UP

1шт.

30

6215-81-5940

TUBE

SN: 11755-UP

1шт.

31

01435-01080

BOLT

SN: 11755-UP

2шт.

32

01435-01020

BOLT

SN: 11755-UP

2шт.

33

08053-01510

CLIP

SN: 11755-UP

1шт.

34

07217-60813

ELBOW

SN: 11755-UP

1шт.

35

6215-51-6362

TUBE

SN: 11794-UP

1шт.

36

07000-E2080

O-RING

SN: 11755-UP

1шт.

37

01010-81235

BOLT

SN: 11755-UP

2шт.

38

6215-51-6241

BRACKET

SN: 11794-UP

1шт.

39

01010-81030

BOLT

SN: 11794-UP

1шт.

40

01010-81025

BOLT

SN: 11755-UP

1шт.

41

01580-01008

NUT

SN: 11755-UP

1шт.

42

01643-31032

WASHER

SN: 11755-UP

3шт.

43

6141-25-3770

WASHER

SN: 11755-UP

1шт.

44

09920-00150

LIQUID GASKET,LG-7 150G

SN: 11755-UP

-2шт.

Выбрано товаров: 0