Запчасти Komatsu SA6D102E-1C-35 МАСЛ. LEVL ДАТЧИК И МАСЛ. ЩУП(№-) ДВИГАТЕЛЬ

Схема запчастей Komatsu SA6D102E-1C-35 - МАСЛ. LEVL ДАТЧИК И МАСЛ. ЩУП(№-) ДВИГАТЕЛЬ
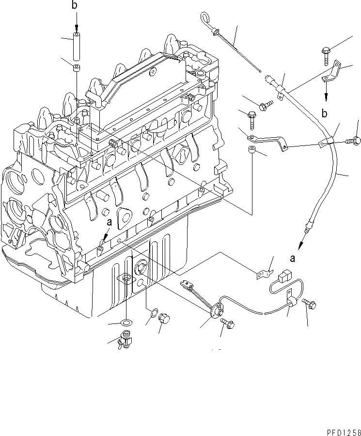
1
2
3
4
5
6
7
8
9
10
11
12
13
14
15
16
17
18
19
20
21
22
FIT
1:1
100%

Артикул

Название

Примечание

Количество

1

6732-21-5641

GAUGE

SN: 26218350-UP

1шт.

|1

0

GAUGE

SN: 26201322-26218349

1шт.

2

6732-21-5490

GUIDE

SN: 26201322-UP

1шт.

3

01436-01020

BOLT

SN: 26201322-UP

1шт.

4

6735-21-5220

BRACKET

SN: 26201322-UP

1шт.

5

6150-71-7130

COLLAR

SN: 26201322-UP

1шт.

6

6131-12-5920

SPACER

SN: 26201322-UP

1шт.

7

04434-51210

CLIP

SN: 26201322-UP

1шт.

8

01435-01014

BOLT

SN: 26201322-UP

1шт.

9

01435-01035

BOLT

SN: 26201322-UP

1шт.

10

6736-21-5210

BRACKET

SN: 26201322-UP

1шт.

11

6131-12-5920

SPACER

SN: 26201322-UP

1шт.

12

04434-51210

CLIP

SN: 26201322-UP

1шт.

13

01435-01014

BOLT

SN: 26201322-UP

1шт.

14

6732-21-5610

VALVE

SN: 26201322-UP

1шт.

15

07005-02216

GASKET

SN: 26201322-UP

1шт.

16

6204-21-5180

PLUG,DRAIN

SN: 26201322-UP

1шт.

17

07005-02216

GASKET

SN: 26201322-UP

1шт.

18

7861-92-4210

SENSOR,LEVEL

SN: 26201322-UP

1шт.

19

01435-00612

BOLT

SN: 26201322-UP

3шт.

20

01435-00812

BOLT

SN: 26201322-UP

1шт.

21

08053-01510

CLIP

SN: 26201322-UP

1шт.

22

08036-31210

CLIP

SN: 26201322-UP

1шт.

Выбрано товаров: 0