Запчасти Komatsu SA6D102E-1C-7Z МАСЛ. ЩУП(№-) ДВИГАТЕЛЬ

Схема запчастей Komatsu SA6D102E-1C-7Z - МАСЛ. ЩУП(№-) ДВИГАТЕЛЬ
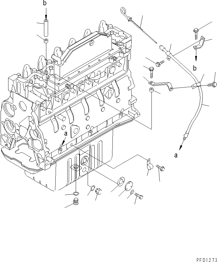
1
2
3
4
5
6
7
8
9
10
11
12
13
14
14
15
15
16
17
18
19
20
21
FIT
1:1
100%

Артикул

Название

Примечание

Количество

1

6732-21-5641

GAUGE

SN: 26219581-UP

1шт.

1

0

GAUGE

SN: 26201322-26219580

1шт.

2

6732-21-5490

GUIDE

SN: 26201322-UP

1шт.

3

01436-01020

BOLT

SN: 26201322-UP

1шт.

4

6735-21-5220

BRACKET

SN: 26201322-UP

1шт.

5

6150-71-7130

COLLAR

SN: 26201322-UP

1шт.

6

6131-12-5920

SPACER

SN: 26201322-UP

1шт.

7

04434-51210

CLIP

SN: 26201322-UP

1шт.

8

01435-01014

BOLT

SN: 26201322-UP

1шт.

9

01435-01035

BOLT

SN: 26201322-UP

1шт.

10

6736-21-5210

BRACKET

SN: 26201322-UP

1шт.

11

6131-12-5920

SPACER

SN: 26201322-UP

1шт.

12

04434-51210

CLIP

SN: 26201322-UP

1шт.

13

01435-01014

BOLT

SN: 26201322-UP

1шт.

14

6204-21-5180

PLUG,DRAIN

SN: 26201322-UP

2шт.

15

07005-02216

SEAL, WASHER (K2)

SN: 26201322-UP

2шт.

16

6136-21-5770

PLATE

SN: 26201322-UP

1шт.

17

6136-21-5870

GASKET

SN: 26201322-UP

1шт.

18

01010-30612

BOLT

SN: 26201322-UP

3шт.

19

01641-00608

WASHER

SN: 26201322-UP

3шт.

20

01435-00812

BOLT

SN: 26201322-UP

1шт.

21

08036-10610

CLIP

SN: 26201322-UP

1шт.

Выбрано товаров: 22