Запчасти Komatsu SA6D108-1A-7C МАСЛЯНЫЙ ПОДДОН И ВСАСЫВАЮЩИЙ ПАТРУБОК(№8-) ДВИГАТЕЛЬ

Схема запчастей Komatsu SA6D108-1A-7C - МАСЛЯНЫЙ ПОДДОН И ВСАСЫВАЮЩИЙ ПАТРУБОК(№8-) ДВИГАТЕЛЬ
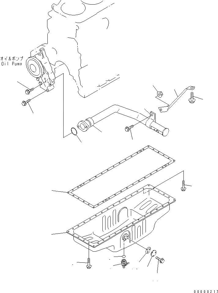
1
2
3
3
4
5
6
7
8
9
10
11
12
13
14
15
16
17
FIT
1:1
100%

Артикул

Название

Примечание

Количество

1

6221-21-5111

PAN,OIL

SN: 13108-UP

1шт.

2

6136-21-5830

GASKET (K2)

SN: 13108-UP

1шт.

3

01435-00816

BOLT

SN: 13108-UP

38шт.

4

6150-23-5190

COCK,DRAIN

SN: 13108-UP

1шт.

5

07000-03022

O-RING (K2)

SN: 10001-UP

1шт.

6

6221-51-6210

PIPE,OIL SUCTION

SN: 10001-UP

1шт.

7

07000-73035

O-RING

SN: 10001-UP

1шт.

8

01435-20820

BOLT

SN: 10001-UP

1шт.

9

01435-20850

BOLT

SN: 10001-UP

1шт.

10

6221-51-6110

BRACKET

SN: 10001-UP

1шт.

11

6136-51-6230

CLAMP

SN: 10001-UP

1шт.

12

01435-20820

BOLT

SN: 10001-UP

1шт.

13

01584-00806

NUT

SN: 10001-UP

1шт.

14

01435-21020

BOLT

SN: 10001-UP

1шт.

15

6136-21-5770

PLATE,OIL LEVEL

SN: 10001-UP

1шт.

16

6136-21-5870

GASKET (K2)

SN: 10001-UP

1шт.

17

01435-00612

BOLT

SN: 13108-UP

3шт.

Выбрано товаров: 17