Запчасти Komatsu SA6D108-1A-7T КРЫШКА ГОЛОВКИ(№-) ДВИГАТЕЛЬ

Схема запчастей Komatsu SA6D108-1A-7T - КРЫШКА ГОЛОВКИ(№-) ДВИГАТЕЛЬ
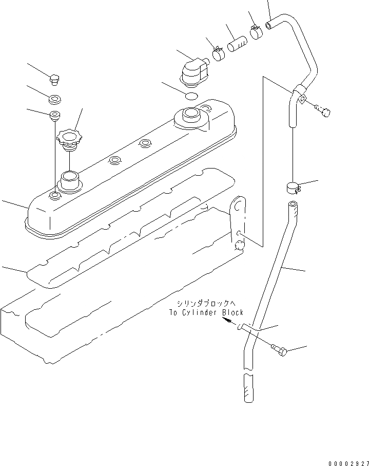
1
2
3
4
5
6
7
8
9
10
11
12
13
14
14
14
FIT
1:1
100%

Артикул

Название

Примечание

Количество

1

6136-11-8112

COVER,HEAD

SN: 10001-30553

1шт.

2

6136-11-8814

O-RING (K1)

SN: 10001-30553

1шт.

3

6136-11-8120

NUT

SN: 10001-30553

4шт.

4

6136-11-8142

PACKING (K1)

SN: 10001-30553

4шт.

5

6136-11-8130

WASHER

SN: 10001-30553

4шт.

6

6150-21-6750

BREATHER

SN: 10001-30553

1шт.

7

6114-21-5190

O-RING (K1)

SN: 10001-30553

1шт.

8

6130-12-8610

CAP

SN: 10001-30553

1шт.

9

6222-23-5820

PIPE,BREATHER

SN: 10001-30553

1шт.

10

07286-01906

HOSE

SN: 10001-30553

1шт.

11

6221-21-5880

CLIP

SN: 10001-30553

1шт.

12

01435-01016

BOLT

SN: 10001-30553

1шт.

13

07286-01995

HOSE

SN: 10001-30553

1шт.

14

07285-00220

CLIP

SN: 10001-30553

3шт.

Выбрано товаров: 14